一种南美白对虾肥水复合制剂
温州大学
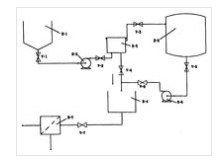
原位修复富营养化池塘养殖水的方法
温州大学
一种制备聚羟基酸嵌段聚乙烯基单体共聚物的方法
徐州众研美汇信息科技有限公司
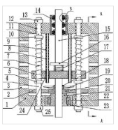
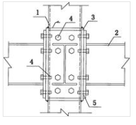
矩形钢管柱与工字钢梁外套钢板螺栓连接节点
徐州众研美汇信息科技有限公司
一种促进活性污泥减量工艺
徐州众研美汇信息科技有限公司
蜂窝状连接钢板-双肢钢管混凝土组合柱
徐州众研美汇信息科技有限公司
将固定化酶与两性电解质Pharmalyte(CA)混合,
徐州众研美汇信息科技有限公司
助行车
徐州众研美汇信息科技有限公司
一种光合微生物鱼塘水质改良剂制备方法及使用方法
徐州众研美汇信息科技有限公司
一种预制装配整体式异形柱结构及其拼接施工方法
徐州众研美汇信息科技有限公司
自馈式加热煤堆低温氧化诱导加速自燃试验模拟装置
徐州众研美汇信息科技有限公司
一种用于构筑高强度胶体光子晶体的乳液的制备方法
徐州众研美汇信息科技有限公司
一种处理苯酚废水用类Fenton非均相高效催化剂的制备方法
徐州众研美汇信息科技有限公司
一种生物基呋喃类环氧树脂聚合物及其制备方法和应用
徐州众研美汇信息科技有限公司
一种数控转塔冲床差动式电冲头机构
徐州众研美汇信息科技有限公司
构建产富马酸大肠杆菌基因工程菌的方法
徐州众研美汇信息科技有限公司
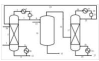
一种分离二异丁烯和叔丁醇混合物的方法
徐州众研美汇信息科技有限公司
一种新型的无金属连接件的复合材料夹层板连接结构
徐州众研美汇信息科技有限公司
自组装技术制备有机无机复合膜的方法
徐州众研美汇信息科技有限公司
一种微流体气喷纺丝制备光热纤维的方法
徐州众研美汇信息科技有限公司
共4040页 转到