一种清洁的座便纸垫装置
盛询科技集团
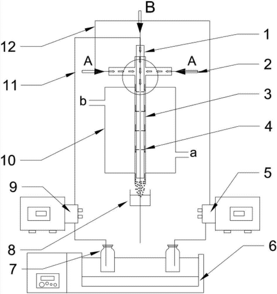
新型多组同轴撞击流反应(混合)器
盛询科技集团
地沟油快速鉴别试剂盒
中科院兰州化物所
胡萝卜、金盏花维生素 A 原富集技术的研究
甘肃省轻工研究院
玛咖啤酒的制备
甘肃省轻工研究院
油橄榄果醋
甘肃省轻工研究院
瓢儿酒的制备方法
甘肃省轻工研究院
循环经济余能发电
山西晋南钢铁集团有限公司
金属材料在线超声检测与智能送料设备
盛询科技集团
一种阶梯平梯互换的娱乐滑梯
盛询科技集团
一种去除沥青路面的装置
盛询科技集团
一种陶瓷基复合材料(CMC)的聚硅氮烷PSZ-50制备方法
盛询科技集团
一种用于制备陶瓷涂层的聚硅氮烷制备方法
盛询科技集团
一种用于制备SiCN非氧化陶瓷纤维的聚硅氮烷制备方法
盛询科技集团
一种钙离子选择性螯合剂的合成方法
盛询科技集团
循环经济炉渣利用
山西晋南钢铁集团有限公司
循环经济废水处理
山西晋南钢铁集团有限公司
提升基层医疗能力的快速检测和人工智能数字诊疗技术
北京云智众康医疗科技有限公司
大功率真空磁悬浮飞轮储能技术
北京泓慧国际能源技术发展有限公司
优化可再生能源微电网的数据驱动平台
Brightmerge
共4040页 转到