科创中国
问题分诊室
具身智能与智慧医疗融合创新产业
高性能装备制造产业
智能机器人全产业链产业
中医药产业
人工智能产业
新一代信息技术产业
作物产业
量子科技与先进制造产业
海洋装备产业
煤炭开采及煤化工产业
特殊钢产业
节能环保产业
低空经济产业
光电产业
汽车产业
新能源产业
新材料产业
“以竹代塑”
成果发布厅
新型电力系统
化学领域
现代纺织
低空经济
信息通信
智慧公路
煤炭开采及煤化工
中医药
智能机器人全产业链
海洋装备
新一代信息技术
量子科技与先进制造
人工智能
高性能装备制造
具身智能与智慧医疗融合创新
作物
科创地方
科创北京
科创天津
科创内蒙古
科创辽宁
科创江苏
科创广西
科创广东
科创重庆
科创宁夏
科创河北
科创山东
科创河南
科创福建
科创湖南
科创黑龙江
科创湖北
科创浙江
科创山西
科创资讯
科创头条
科协活动
通知公告
科技政策
技术经理人
科技服务团
资源中心
项目库
问题库
案例库
开源库
学术资源
会议展览
品牌栏目
院士开讲
解码新质生产力
金融服务云课堂
企创云课堂
有问题想咨询
有成果想转化
我的交易
我的会议
我报名的路演会议
我的资讯
我的消息
我的动态
我的需求
我的成果
我的
个人资料编辑
退出登录
登录/注册
科创中国
需求发布
成果发布
科创案例库
揭榜挂帅
技术经理人
会议展览
科创联合体
科技服务团
科创资讯
科技政策
院士开讲
学术资源
城市站点
协作站点
搜索
问题库
项目库
开源库
English
我的交易
我的会议
我报名的路演会议
我的资讯
我的消息
我的动态
我的需求
我的成果
我的
个人资料编辑
退出登录
登录/注册
组织入驻
隐藏工作区
全国
在线展厅
切换展厅
全国
北京市
天津市
河北省
山西省
内蒙古
辽宁省
吉林省
黑龙江省
上海市
江苏省
浙江省
安徽省
福建省
江西省
山东省
河南省
湖北省
湖南省
广东省
广西
海南省
重庆市
四川省
贵州省
云南省
西藏
陕西省
甘肃省
青海省
宁夏
新疆
新疆兵团
路演活动
科技成果
参观
人数
0
0
0
0
0
0
0
点赞
人数
0
0
0
0
0
0
0
技术领域
全部
新兴行业
|
新基建
|
电子信息
|
高端产业
|
生物医药
|
石化与新材料
|
智能机械与光机电一体化
|
节能环保
|
新能源
|
现代农业
|
高端技术服务业
|
农林牧副渔
|
城建规划
|
文化创意
|
矿山工程
|
冶金工程
|
企业管理
|
知识产权
|
智库咨询
|
旅游休闲娱乐
|
企业发展服务
|
电子商务
|
纺织
|
其他
|
更多
一种基于ZYNQ的FPGA雷达数据调试系统及调试方法
中国航空工业集团公司雷华电子技术研究所
一种含铁塑的涂料包装桶凹凸部位冲压成型方法及装置
江阴市鑫宝铁塑制品有限公司
加强型下水横担
中船澄西船舶修造有限公司
应用于特钢厂二次精炼工艺且稳定性高的干式真空机组
江阴天田真空设备制造有限公司
一种电动车剩余电量的确定方法及装置
雅迪科技集团有限公司
机载二维有源相控阵气象雷达波束扫描及处理方法
中国航空工业集团公司雷华电子技术研究所
一种基于方向图拟合的相控阵气象雷达波束形成方法
中国航空工业集团公司雷华电子技术研究所
一种评价高强钢焊接氢致延迟裂纹倾向的试验方法
江阴兴澄特种钢铁有限公司
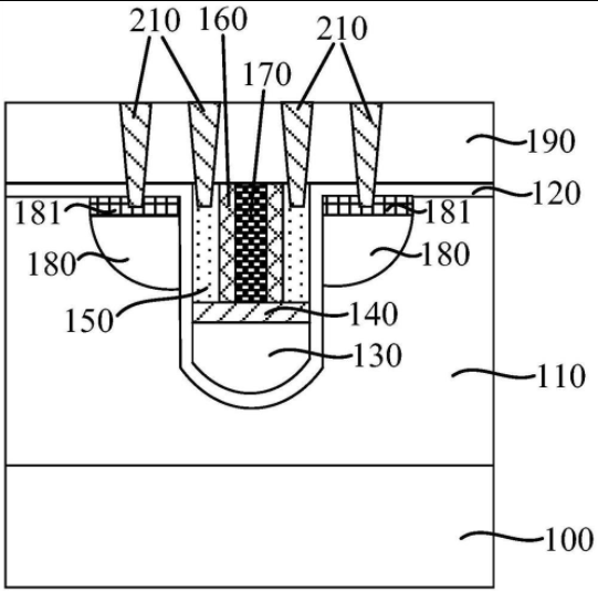
半导体结构及其制备方法
盛合晶微半导体(江阴)有限公司
一种方便检修的对流段中间集箱内部结构
江苏太湖锅炉股份有限公司
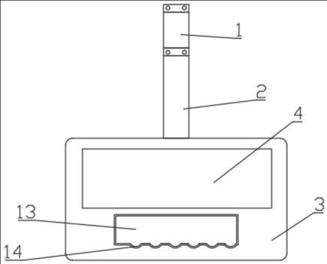
带投屏功能的显示屏拉手及广告显示系统和无线充电装置
无锡灵龙芯物联网科技有限公司
MOSFET及其制造方法
华虹半导体(无锡)有限公司
一种应用于三维空间的同时定位和巡航系统
无锡职业技术学院
一种除栓装置
江苏金泰医疗器械有限公司
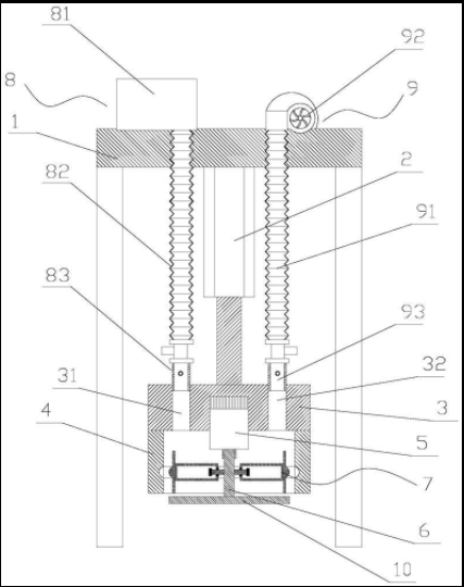
一种热电偶补偿电缆生产加工用检测装置及其检测方法
江苏浦漕科技股份有限公司
一种二维有源机载气象雷达自动测试系统
中国航空工业集团公司雷华电子技术研究所
一种波特率生成器
中科芯集成电路有限公司
钛白废酸中钛铁的分离与利用
常州市武进区科技成果转移中心
桌面型批量移液设备
常州市武进区科技成果转移中心
纳米基因检测技术
常州市武进区科技成果转移中心
首页
上一页
1005
1006
1007
1008
1009
1010
1011
下一页
尾页
共4040页 转到
页