感应加热气化EPS消失模铸造方法
盛询科技集团
智能化口腔护理车在重症监护室中的应用(中国)
中南大学湘雅医院
1. “珍膝”膝关节智能康复辅助支具系统的研发与应用(中国)
中南大学湘雅医院骨科
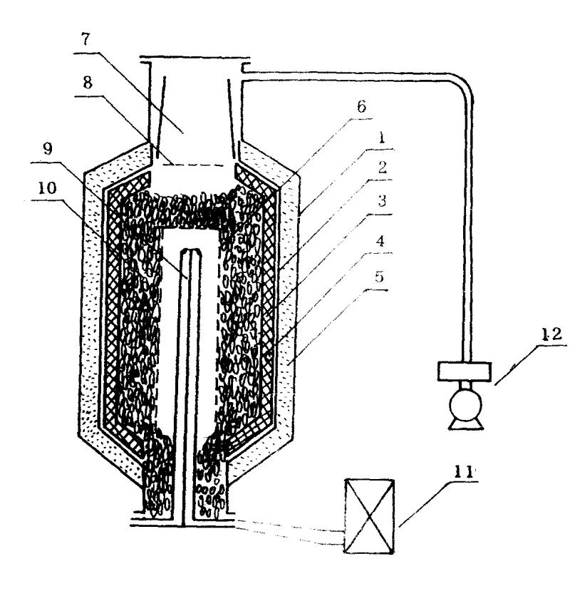
双金属夹铸石还原炼镁罐
盛询科技集团
Newsight Imaging:用于3D成像及光谱分析的CMOS图像传感器芯片(以色列)
Newsight Imaging
一种热浸塑钢质波纹管
盛询科技集团
NEBULA AI:猎户AI人工智能云计算解决方案(加拿大)
Nebula AI
Rawstone:提升客户品牌忠诚度的创新游戏模拟体验平台(意大利)
Rawstone
Thinking Clouds:基于人工智能技术的线上智能云游览系统Glooci(意大利)
Thinking Clouds
FemtoFiberTec:用于智慧城市、数字孪生与碳中和的光纤传感系统(德国)
FemtoFiberTec GmbH
Mica:基于人工智能算法的乳腺癌早期检测及决策的信息平台(以色列
MICA
聚氨酯环保型免充气大空腔液态金属散热高减震轮胎技术
盛询科技集团
 五叠纪智能:仿生鱼在环保水质监测中的应用
青岛五叠纪智能科技有限公司
AC Biode:由回收煤灰/生物质灰制成的多功能复合化学材料(溢油吸收剂)
AC Biode
CET:微生物原位土壤修复&亚临界有机废弃物处理技术
循高环境(ECET)
一种提高汽轮机效率的方法及设备
盛询科技集团
Dragon Fly Eco Tech:基于日本氢能储运及燃料电池技术在中国的应用场景开发
龙擎生态科技有限公司
自保温填充墙体
盛询科技集团
一种均匀高效生产纳米结构弥散强化铁基合金用预合金粉末的方法
盛询科技集团
一种高比表面晶态介孔二氧化锡材料的制备方法
盛询科技集团
共15998页 转到