太阳能集热供暖系统
衡阳晟达信息技术有限公司
一种飞艇配平方法
中国特种飞行器研究所
柴油发动机废气再循环系统所使用的阀
南岳电控(衡阳)工业技术股份有限公司
一种匹配厌氧氨氧化的异养短程硝化系统
温州大学
一种用于燃油喷射系统高压喷油泵调速器的负校正装置
南岳电控(衡阳)工业技术有限公司
一种还原复合药剂联合紫外光处理三价铬络合废水与铬同步回收的方法
温州大学
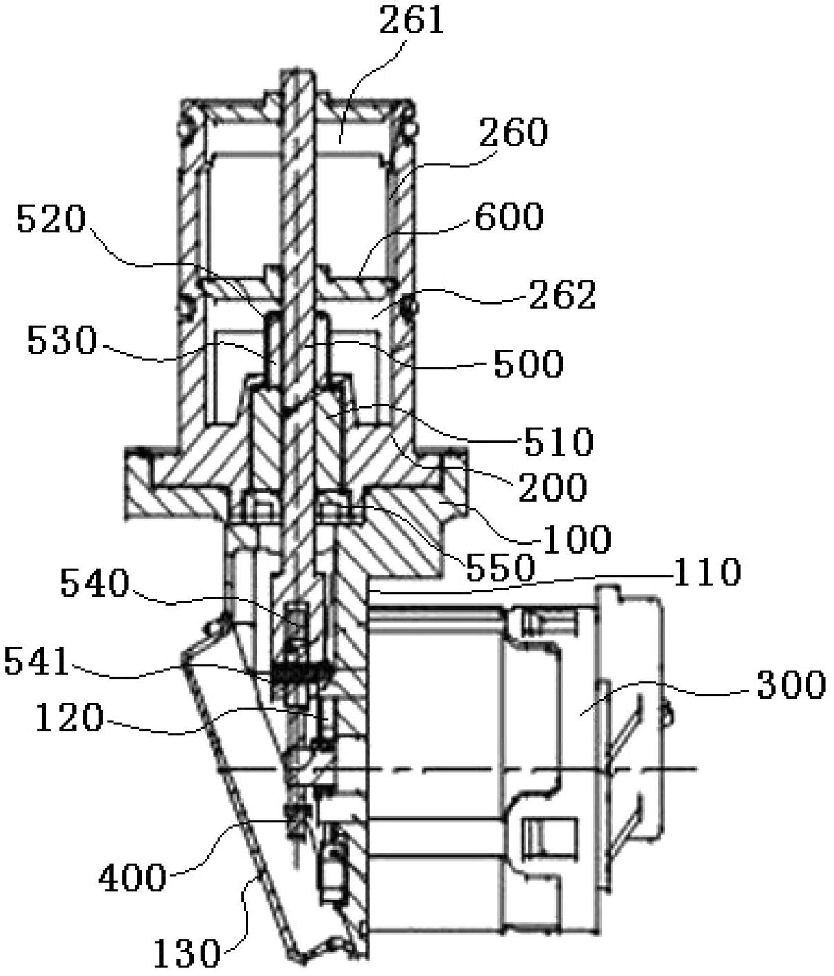
一种应用于高压共轨燃油喷射系统的径向柱塞供油泵
南岳电控(衡阳)工业技术股份有限公司
离体电生理组织孵育装置
徐州医科大学
电动轮椅及其手柄控制方法、手柄系统
徐州众研美汇信息科技有限公司
一种光促破络复合药剂与UV联用降解铜络合物并同步除铜的方法
温州大学
一种适用于分散式供水的直饮水灭菌器
温州大学
旋转式轮履转换机器人
徐州众研美汇信息科技有限公司
计及电源群内外部等效电气距离的配电网孤岛划分方法
徐州众研美汇信息科技有限公司
PEDF在制备治疗骨髓增殖性疾病药物中的应用
徐州医科大学
一种控制低压进油的直列式共轨供油泵
南岳电控(衡阳)工业技术有限公司
一种用于无人热气球的飞行高度控制系统
中国特种飞行器研究所
一种异养硝化菌剂的培养装置
温州大学
一种用于将胶条配合部装配到型材配合槽中的拉链头
徐州众研美汇信息科技有限公司
一种带通道夹层的中通圆台状填料
温州大学
一种基于时空特性的配电网电压不合格时段识别方法
徐州众研美汇信息科技有限公司
共15998页 转到