一种断路器上双金属片的动态特性测试和温度同步测量系统
温州大学
fMRI动态脑功能子网络构建及并联SVM加权识别方法
徐州众研美汇信息科技有限公司
一种发酵生产混合醇的方法
徐州众研美汇信息科技有限公司
一种含苯系物废气的催化燃烧处理装置系统
徐州众研美汇信息科技有限公司
一种新型磁悬浮轴向磁通双凸极永磁电机
徐州众研美汇信息科技有限公司
一种蛙蟾类环抱臂力检测装置及系统
兰州大学
一种蛋壳规整切割及蛋膜提取一体装置及其应用
徐州众研美汇信息科技有限公司
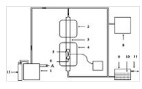
一种采用高压脉冲放电耦合二硫化钼处理含酚废水的方法
徐州众研美汇信息科技有限公司
球磨机(2)
徐州众研美汇信息科技有限公司
一种多通道型非对称不锈钢膜的制备方法
徐州众研美汇信息科技有限公司
一种植物源杀螨剂及其制备方法
兰州大学
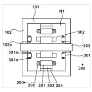
带分断保护装置的永磁式接触器
温州大学
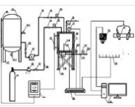
一种储罐泄漏闪蒸射流行为特性实验测试装置
徐州众研美汇信息科技有限公司
一种碱催化下烯烃化学选择性单官能化反应的方法
徐州众研美汇信息科技有限公司
一种自动化铁屑清理装置
徐州众研美汇信息科技有限公司
一种非接触式测量断路器分断特性的装置及方法
温州大学
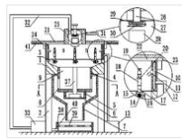
高效光伏光电耦合制氢系统
武进区科技成果转移中心
一种制备醋酸阿比特龙的方法
兰州大学
利用葡萄糖产丁二酸的基因工程菌株及其发酵产酸方法
徐州众研美汇信息科技有限公司
一种利用聚天冬氨酸改性凹凸棒土制备复合吸附剂的方法及其产品和应用
徐州众研美汇信息科技有限公司
共15998页 转到