城市深层污水传输隧道检测与清淤机器人
华中科技大学
一种无干扰热源孔套可固定密封设备
陕西四季春清洁热源股份有限公司
昆虫脂肪体收集器
贵州知富云科技有限公司
一种节能环保中央空调的冷却水降温装置
广州科技翻译协会
一种智能化的无干扰中深层地热资源梯级利用供暖系统
陕西四季春清洁热源股份有限公司
土壤pH智能环保检测专用的土壤试样前处理装置
贵州知富云科技有限公司
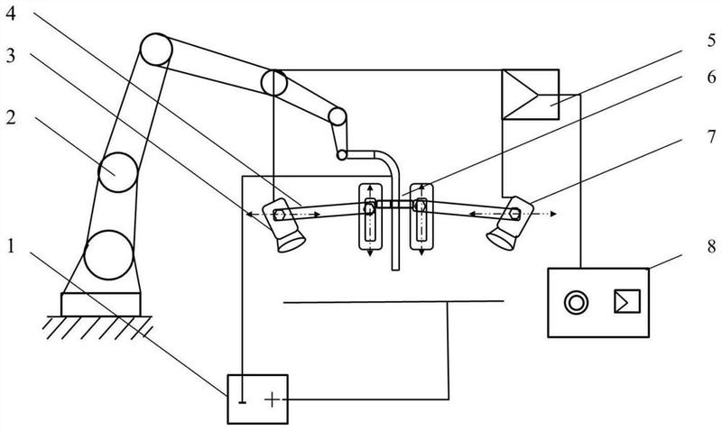
一种基于激光稳定熔池尺寸的电弧增材制造方法及系统
华中科技大学
一种新型无干扰热源孔抗腐蚀性孔口装置
陕西四季春清洁热源股份有限公司
Sleep享睡智慧养老床边监护解决方案
产演科技发展(北京)有限公司
一种儿童防烫水瓶
湖北文理学院
一种危废水回收装置
广州科技翻译协会
老年痴呆疾病斑马鱼模型及海洋生物活性成分筛选技术
山东省科学院生物研究所
熔融挤出装置及3D打印机
华中科技大学
一种无干扰地热聚能设备
陕西四季春清洁热源股份有限公司
新型研钵
贵州知富云科技有限公司
一种便于浇水及有效利用盆体侧壁种植的花盆
贵州知富云科技有限公司
一种MEMS准零刚度的弹簧振子结构
华中科技大学
一种提高金属粉床增材制造过程铺粉质量的装置
华中科技大学
一种潜叶类鳞翅目害虫幼虫捕捉器
贵州知富云科技有限公司
便携式柱状土壤采样装置
贵州知富云科技有限公司
共16043页 转到