一种电池防爆检测装置
贵州知富云科技有限公司
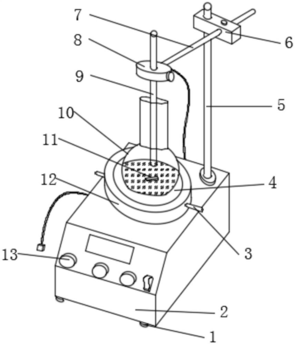
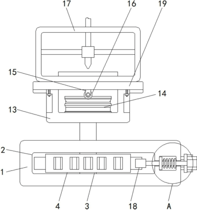
茶粉研磨机
徐州众研美汇信息科技有限公司
一种摆动型帘式折流板
徐州众研美汇信息科技有限公司
一种PCR荧光检测的避光结构
广州科技翻译协会
即食对虾干制加工技术及装置
山东省科学院能源研究所
一种智能开关检测设备
徐州众研美汇信息科技有限公司
一种涵道风扇使用状态切换装置
徐州众研美汇信息科技有限公司
新型皂化剂制备环氧氯丙烷的方法
徐州众研美汇信息科技有限公司
拼装式预制楼梯
徐州众研美汇信息科技有限公司
一种药物分析检测用药物溶解装置
贵州知富云科技有限公司
一种彩色被动辐射冷却薄膜的制备方法
徐州众研美汇信息科技有限公司
一种晶圆级三层结构的封装方法
华中科技大学
海参加工副产物资源化利用技术
山东省科学院生物研究所
一种激光3D制造装置
徐州众研美汇信息科技有限公司
稀土氧化物的纳米粒子的合成装置
贵州知富云科技有限公司
一种全自动牙刷生产线万能牙刷夹具
贵州知富云科技有限公司
一种中深层无干扰地热孔套管新密封装置
陕西四季春清洁热源股份有限公司
长寿花冬季水培促开花方法
湖北文理学院
实验教学用3D打印演示装置
贵州知富云科技有限公司
一种体操运动用跌落防护装置
贵州知富云科技有限公司
共16043页 转到