一种益智类拍拍乐游乐设备
广州科技翻译协会
小麦啤酒或白啤酒生产技术
齐鲁工业大学生物工程学院
XRD的X射线散射的测量夹具
贵州知富云科技有限公司
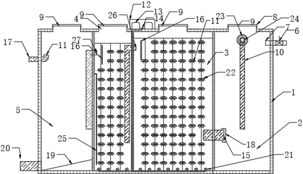
微型沼气发酵液处理装置
贵州知富云科技有限公司
基于深度神经网络的晶圆缺陷检测技术及票据识别技术
上海技术交易所
一种氢燃料双极板检测设备
广州科技翻译协会
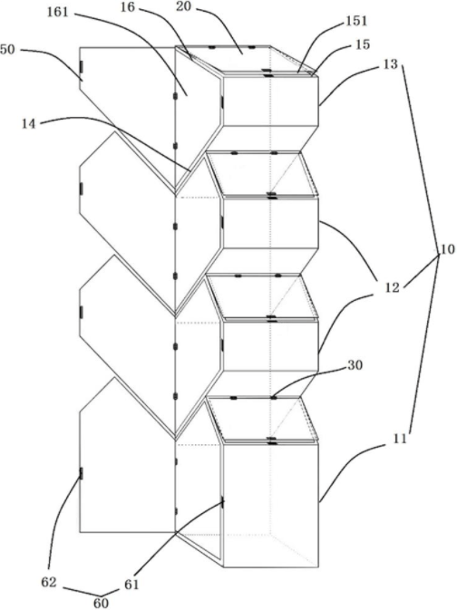
叠加型分类垃圾箱
贵州知富云科技有限公司
精酿啤酒项目
齐鲁工业大学生物工程学院
一种轨道移动式彩钢棚
王青松
温湿度响应材料变形监测装置
贵州知富云科技有限公司
桶内二次发酵法生产小麦啤酒项目
齐鲁工业大学生物工程学院
恒温恒湿无菌操作箱
贵州知富云科技有限公司
全自动原浆啤酒发酵罐的开发设计
齐鲁工业大学生物工程学院
一种防止半卧位病人下滑的床单
荆门市第一人民医院
5 升啤酒宴会桶无菌灌装系统的开发
齐鲁工业大学生物工程学院
仿真蠕虫机器人
贵州知富云科技有限公司
上面发酵小麦啤酒的开发及其特征风味物质检验体系
齐鲁工业大学生物工程学院
果酒开发技术
齐鲁工业大学生物工程学院
可收缩首饰挂架
贵州知富云科技有限公司
100%大麦啤酒饮料生产技术
齐鲁工业大学生物工程学院
共16043页 转到