船舶大型复杂构件激光电弧复合焊接系统模块化设计及装备集成技术研究
716研究所
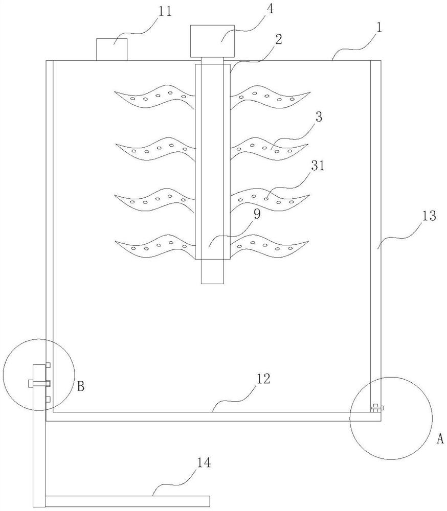
一种用于花茶的节能干燥装置
贵州知富云科技有限公司
储能电站电池健康状态在线监测诊断预警智能运维系统
上海技术交易所
基于激光小孔效应的高功率激光电弧耦合增强的多位姿及双面对称焊接技术研究
716研究所
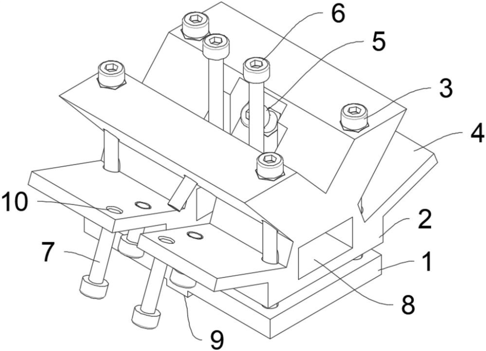
一种植物油均质装置
贵州知富云科技有限公司
一种同步重现驾考信息的方法及其装置
柳州桂通科技股份有限公司
一种多媒体多信息同步重现的系统
柳州桂通科技股份有限公司
一种可以通配不同安装平台的点型感温火灾探测器
广州科技翻译协会
一种梯式桥架
广州科技翻译协会
一种混凝土边框架梁加固结构
广州科技翻译协会
一种触屏式电源时序器
广州科技翻译协会
年产 500 吨β-葡聚糖酶发酵生产技术
齐鲁工业大学生物工程学院
简易、高效的生物质连续碳化设备
贵州知富云科技有限公司
一种具有光伏发电能力的照明航标
广州科技翻译协会
系列微生物检测试剂研发
齐鲁工业大学生物工程学院
隧道洞口的加强型波纹板防护装置
贵州知富云科技有限公司
一种智能蓄电池在线监测系统
广州科技翻译协会
一种适于埋土防寒的葡萄整形栽培方法
齐鲁工业大学生物工程学院
一种简易型海绵蓄水池
广州科技翻译协会
紫外分光光度计的反射率测量装置
贵州知富云科技有限公司
共16043页 转到