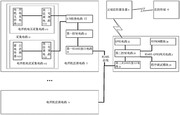
一种电焊机远程监控系统
贵州知富云科技有限公司
生物法生产赤藓糖醇
山东省食品发酵工业研究设计院
一种汽车A柱盲区的前视镜
贵州知富云科技有限公司
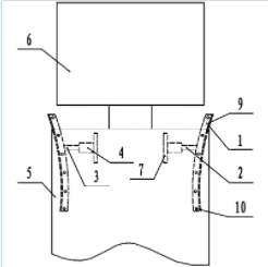
一种大型卡车转弯保护装置
贵州知富云科技有限公司
一种立体结构增益补偿型SAW器件
贵州知富云科技有限公司
新型稀土储氢材料
包头中科轩达新能源 科技有限公司
一种护眼抗菌实验平台
贵州知富云科技有限公司
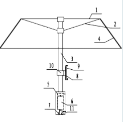
一种具有发电功能的太阳伞
贵州知富云科技有限公司
抗耐药菌耐甲氧西林的金黄色葡萄球菌(MRSA)多肽和先导化合物的制备技术
山东省科学院生物研究所
一种冷暖两用笔
贵州知富云科技有限公司
一种具有充电功能的太阳伞
贵州知富云科技有限公司
生物传感分析仪
山东省科学院生物研究所
一种平面结构增益补偿型SAW器件
贵州知富云科技有限公司
利用生物质废弃物生产商品有机肥工艺技术
山东省科学院生物研究所
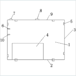
一种带PM2.5监测的仪器保护箱装置
贵州知富云科技有限公司
发酵过程生物传感器在线检测与优化控制技术
山东省科学院生物研究所
一种红松种子萌发装置
贵州知富云科技有限公司
一种井下实时监控与人员定位装置
贵州知富云科技有限公司
一种用于荧光分光光度计样品室中的粉末样品架
贵州知富云科技有限公司
创新药物的早期成药与安全性评价关键技术
山东省科学院生物研究所
共16043页 转到