一种基于深度学习的车牌超分辨率处理方法及系统
温州大学
基于九并稠杂环类共轭小分子及其制备方法与应用
江苏中机矿山设备有限公司
一种利用葡萄糖-金纳米粒子检测黄曲霉毒素B1的方法
徐州众研美汇信息科技有限公司
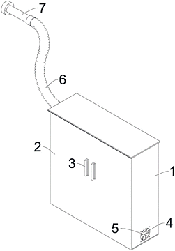
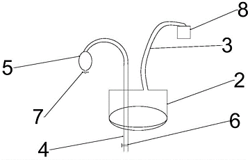
一种通风防潮鞋柜
贵州知富云科技有限公司
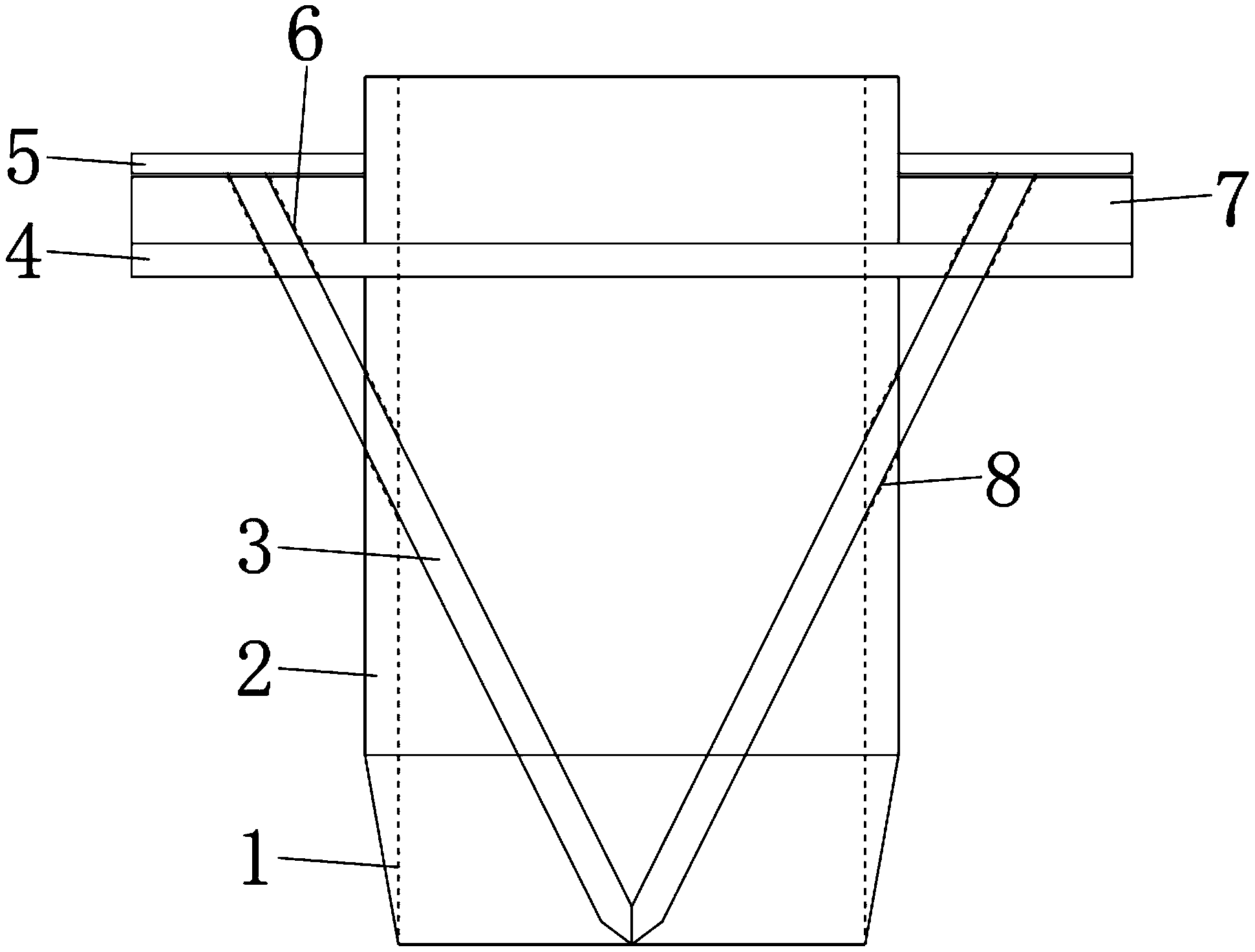
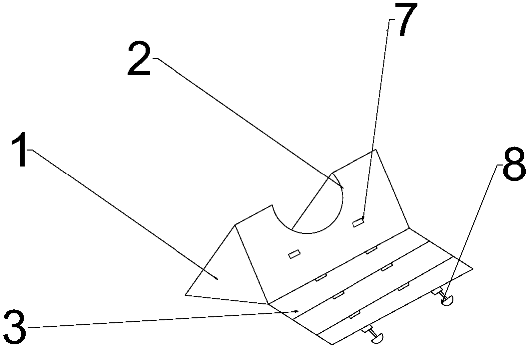
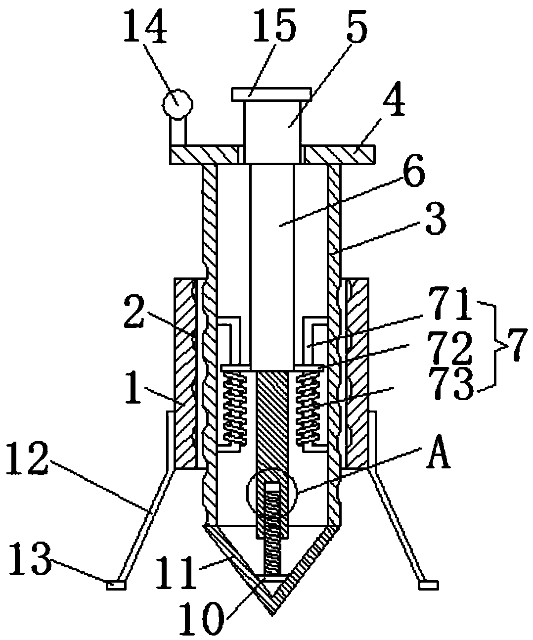
一种多用三角桩
贵州知富云科技有限公司
一种腹腔引流护理内裤
贵州知富云科技有限公司
一种水分可控式盆栽实验装置
贵州知富云科技有限公司
陶瓷艺术品雕刻用加工装置
徐州众研美汇信息科技有限公司
含氟化合物包覆微纳米铝粉的制备方法
江苏中机矿山设备有限公司
土壤呼吸测定套管
贵州知富云科技有限公司
一种可双向识别的微流体惯性接电开关
江苏中机矿山设备有限公司
一种紫光灯捕蚊器
湖北文理学院
一种多层葡萄气调保鲜盒
徐州众研美汇信息科技有限公司
一种机械手和手爪一体化的机构
江苏中机矿山设备有限公司
一种便于操作的教学黑板
贵州知富云科技有限公司
一种高强度铜基非晶钎料
江苏中机矿山设备有限公司
分离式土壤取样装置
贵州知富云科技有限公司
β-葡聚糖和琥珀酰聚糖在防控土传真菌病害中的应用
江苏中机矿山设备有限公司
一种用于软包装液体输送装置
贵州知富云科技有限公司
“药食同源”中药葛根复方抗醉解酒产品的开发
陕西师范大学
共16043页 转到