多功能便携式环保购物袋
徐州众研美汇信息科技有限公司
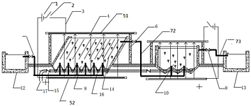
一种电场除藻构筑物
贵州知富云科技有限公司
一种空间降采样解码方法和装置
温州大学
一种用于测定摩擦系数的测试机
徐州众研美汇信息科技有限公司
一种基于图像处理的导轨目标位置检测方法
江苏中机矿山设备有限公司
基于达菲光路的散斑干涉多参数测量系统及测量方法
徐州众研美汇信息科技有限公司
气体采样便携箱
贵州知富云科技有限公司
一种基于改进超分辨率参数化模型的视频超分辨率方法及装置
温州大学
一种基于基因工程多肽的碲纳米棒合成方法
华中科技大学
一种小型螺旋桨转速测量装置
贵州知富云科技有限公司
一种无间隙双层金属机匣的弹道极限计算方法
江苏中机矿山设备有限公司
一种抗紫外整理剂及其制备方法
徐州众研美汇信息科技有限公司
图像去运动模糊的方法和装置
温州大学
一种便于作答答卷的手提箱
贵州知富云科技有限公司
一种多帧图像配准与融合去噪的方法
温州大学
四氧化三铁协同银颗粒/氧化石墨烯自组装银纳米链的制备方法
江苏中机矿山设备有限公司
废旧锂离子电池资源化回收新工艺
上海技术交易所
一种视频序列中自动提取手势候选区域的方法及系统
温州大学
基于ROS的智能导航微系统及其控制方法
江苏中机矿山设备有限公司
一种便于开瓶的瓶盖
贵州知富云科技有限公司
共16043页 转到