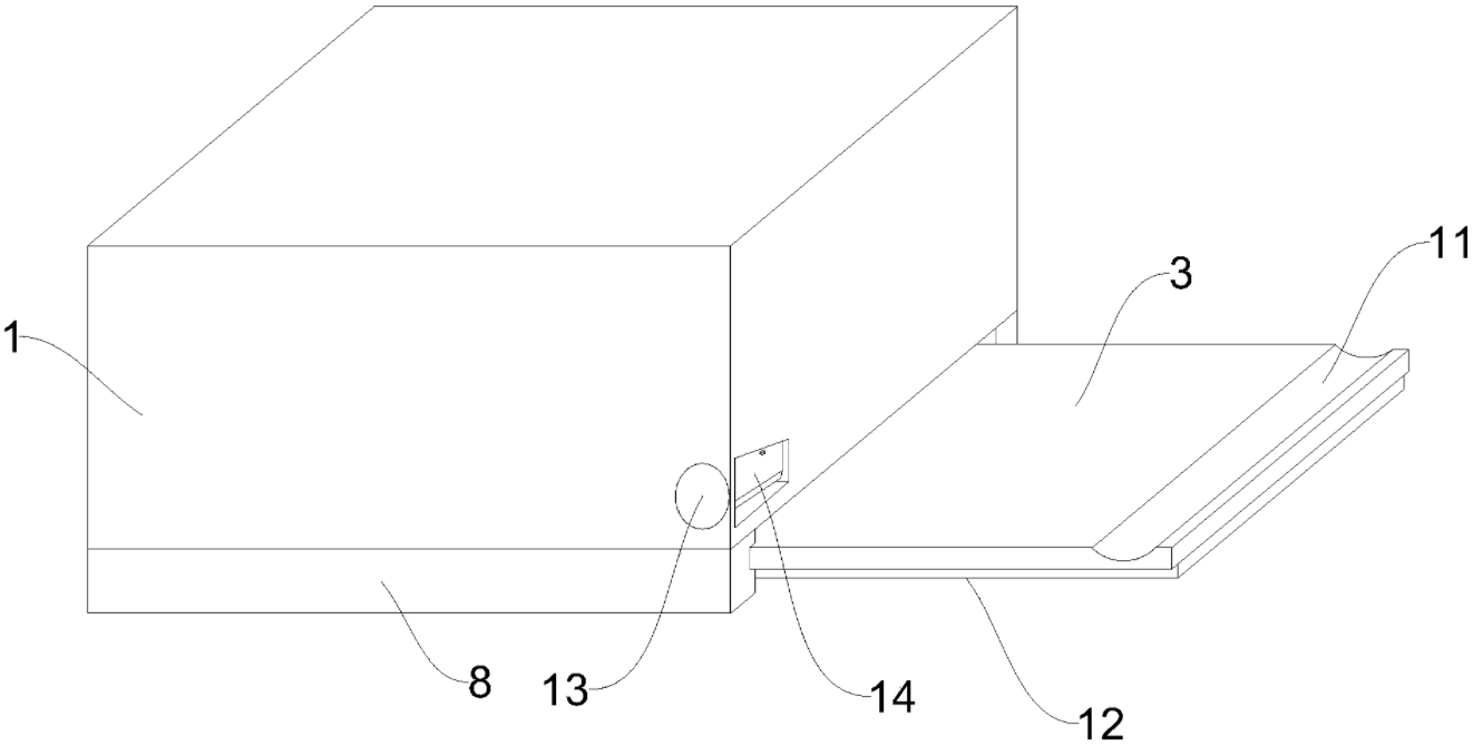
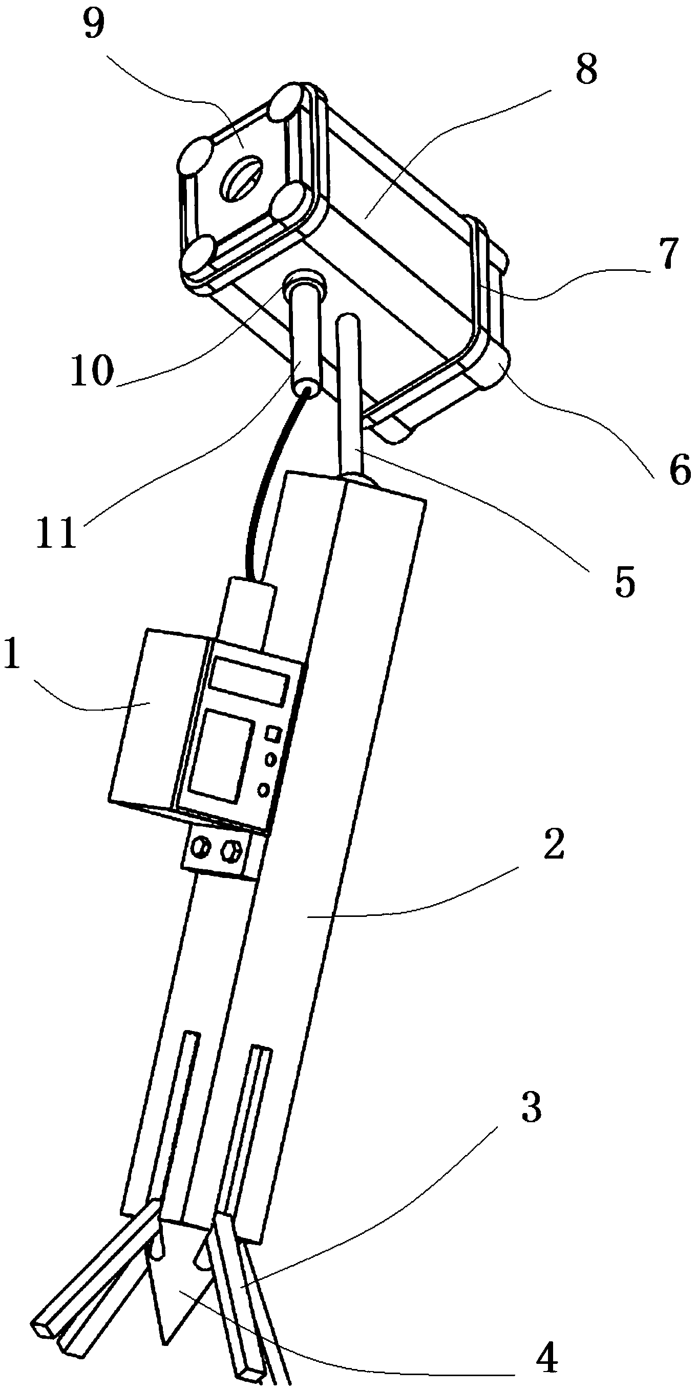
大容量低压断路器瞬时动作特性测试设备
温州大学
光合作用测定装置
贵州知富云科技有限公司
一种适用于多处理器核系统芯片的调试方法
温州大学
一种建筑用节能防爆板材
徐州众研美汇信息科技有限公司
适用于多电平脉冲幅度调制的自适应连续时间线性均衡器
温州大学
图书馆书柜
贵州知富云科技有限公司
一种高效两相一体化厌氧反应器
徐州众研美汇信息科技有限公司
本发明提供一种基于改进朴素贝叶斯算法的火灾预警方法,包括确定火灾特征属性项以及火灾类别;获取多个数据
温州大学
内设集中式程序转移计算装置的微处理器
温州大学
植物普适型光合速率测定装置
贵州知富云科技有限公司
一种热解通道的阻气导料装置
徐州众研美汇信息科技有限公司
一种计算机辅助教育实验台
贵州知富云科技有限公司
一种断路器自动化装配数字孪生车间的管理平台
温州大学
一种用于洗麦机的中水回收槽
徐州众研美汇信息科技有限公司
乘累加装置
温州大学
多媒体处理器协同仿真验证平台
温州大学
一种用于超级电容器的共聚阴离子隔膜及其制备方法
徐州众研美汇信息科技有限公司
一种微型无人机
贵州知富云科技有限公司
一种固定底座及笔筒
贵州知富云科技有限公司
一种断路器装配机器人及其实现工作轨迹优化的方法
温州大学
共16043页 转到