科创中国
问题分诊室
具身智能与智慧医疗融合创新产业
高性能装备制造产业
智能机器人全产业链产业
中医药产业
人工智能产业
新一代信息技术产业
作物产业
量子科技与先进制造产业
海洋装备产业
煤炭开采及煤化工产业
特殊钢产业
节能环保产业
低空经济产业
光电产业
汽车产业
新能源产业
新材料产业
“以竹代塑”
成果发布厅
新型电力系统
化学领域
现代纺织
低空经济
信息通信
智慧公路
煤炭开采及煤化工
中医药
智能机器人全产业链
海洋装备
新一代信息技术
量子科技与先进制造
人工智能
高性能装备制造
具身智能与智慧医疗融合创新
作物
科创地方
科创北京
科创天津
科创内蒙古
科创辽宁
科创河北
科创湖南
科创宁夏
科创广东
科创江苏
科创广西
科创重庆
科创山东
科创河南
科创福建
科创黑龙江
科创湖北
科创浙江
科创山西
科创资讯
科创头条
科协活动
通知公告
科技政策
技术经理人
科技服务团
资源中心
项目库
问题库
案例库
开源库
学术资源
会议展览
品牌栏目
院士开讲
解码新质生产力
金融服务云课堂
企创云课堂
有问题想咨询
有成果想转化
我的交易
我的会议
我报名的路演会议
我的资讯
我的消息
我的动态
我的需求
我的成果
我的
个人资料编辑
退出登录
登录/注册
科创中国
需求发布
成果发布
科创案例库
揭榜挂帅
技术经理人
会议展览
科创联合体
科技服务团
科创资讯
科技政策
院士开讲
学术资源
城市站点
协作站点
搜索
问题库
项目库
开源库
English
我的交易
我的会议
我报名的路演会议
我的资讯
我的消息
我的动态
我的需求
我的成果
我的
个人资料编辑
退出登录
登录/注册
组织入驻
隐藏工作区
全国
在线展厅
切换展厅
全国
北京市
天津市
河北省
山西省
内蒙古
辽宁省
吉林省
黑龙江省
上海市
江苏省
浙江省
安徽省
福建省
江西省
山东省
河南省
湖北省
湖南省
广东省
广西
海南省
重庆市
四川省
贵州省
云南省
西藏
陕西省
甘肃省
青海省
宁夏
新疆
新疆兵团
路演活动
科技成果
参观
人数
0
0
0
0
0
0
0
点赞
人数
0
0
0
0
0
0
0
技术领域
全部
新兴行业
|
新基建
|
电子信息
|
高端产业
|
生物医药
|
石化与新材料
|
智能机械与光机电一体化
|
节能环保
|
新能源
|
现代农业
|
高端技术服务业
|
农林牧副渔
|
城建规划
|
文化创意
|
矿山工程
|
冶金工程
|
企业管理
|
知识产权
|
智库咨询
|
旅游休闲娱乐
|
企业发展服务
|
电子商务
|
纺织
|
其他
|
更多
药用真菌抗肿瘤活性肽的真核异源表达及其制备
中国技术交易所有限公司
低成本、单目实时三维地形重建技术
中国兵工学会
高活力菊粉内切酶酶制剂生产及其在菊粉低聚果糖生产中的应用
中国技术交易所有限公司
新西兰杂交鲍育苗及养殖设施设备项目介绍
中国技术交易所有限公司
甘薯废弃物制备糖和乙醇的微生物技术
河北省科技成果展示交易中心
铁电氧化物与MAxFA1-xPbI30-3复合的薄膜材料
江苏中机矿山设备有限公司
一种具有抗癌疗效的低温等离子体处理的细胞培养液
黑龙江八一农垦大学生命科学技术学院
一种三维目标光场强度重构的方法
江苏中机矿山设备有限公司
一种便携式可折叠口腔护理牙科床
贵州知富云科技有限公司
一种往复移动式高温微波加热炉
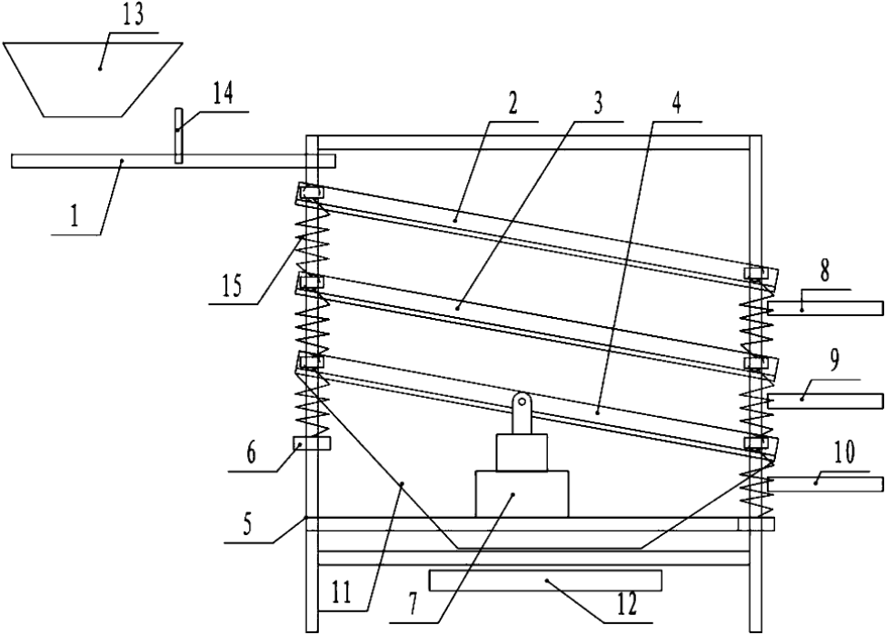
江苏中机矿山设备有限公司
防治作物棒孢叶斑病杀菌剂组合
中蔬生物科技(寿光)有限公司
玉米芯废渣制备纤维素乙醇技术与应用
河北省科技成果展示交易中心
面向产品评论的跨领域对偶情感分析方法
江苏中机矿山设备有限公司
酒店用智能布草统计平台
江苏中机矿山设备有限公司
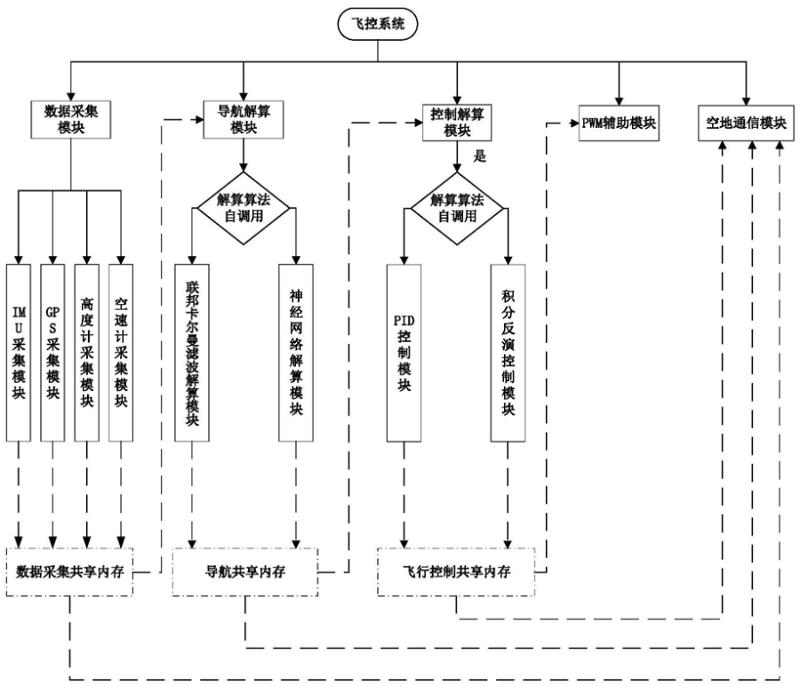
具有多任务自调度的模块化飞控系统及其设计方法
江苏中机矿山设备有限公司
利用植物来源的系列酶催化合成并筛选具有重要医药价值的糖苷或糖酯
河北省科技成果展示交易中心
一种适应充电屋门变化的巡检机器人定位方法
江苏中机矿山设备有限公司
喀斯特地区土豆筛选分级装置
贵州知富云科技有限公司
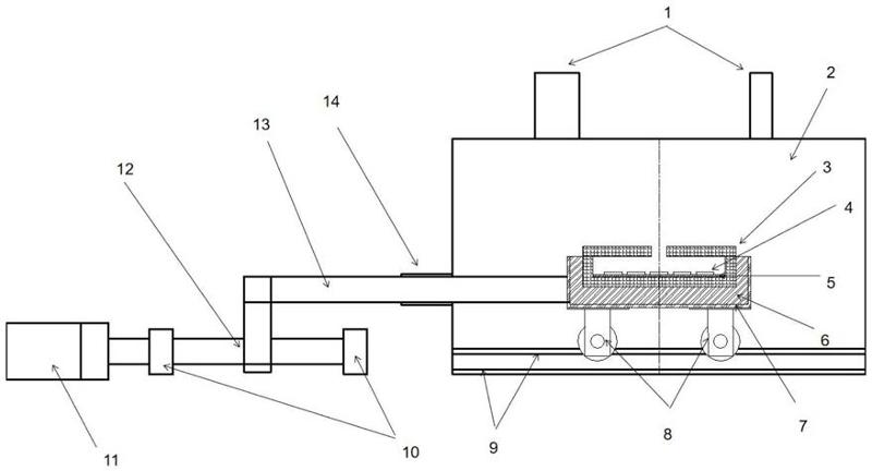
基于扩张状态观测器的负载模拟器反步控制方法
江苏中机矿山设备有限公司
生物医药提取、浓缩、提纯技术
河北省科技成果展示交易中心
首页
上一页
6616
6617
6618
6619
6620
6621
6622
下一页
尾页
共16043页 转到
页