纤维素醚-海藻酸钠-正硅酸乙酯渗透汽化杂化膜的制备方法
徐州众研美汇信息科技有限公司
含芳叔胺基和二羟基的硫杂蒽酮光引发剂及其制备方法
徐州众研美汇信息科技有限公司
一种刺梨采摘收集装置及方法
贵州知富云科技有限公司
一种可稳定实现内缩抽芯的模具
徐州众研美汇信息科技有限公司
垃圾焚烧处理用有害烟尘自动吸附净化装置
贵州知富云科技有限公司
车床加工用的多用途旋转式夹具
徐州众研美汇信息科技有限公司
全新DNA分子量标准(DNA marker)制备模式的创建与转化
中国技术交易所有限公司
一种交通公路设备转向减震装置
徐州众研美汇信息科技有限公司
光纤表皮加固修复器
贵州知富云科技有限公司
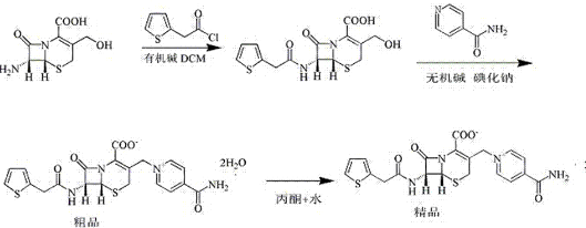
硫酸头孢喹肟的合成
中国技术交易所有限公司
一种新型色盲辅助驾驶系统
徐州众研美汇信息科技有限公司
一种自动喷砂系统
徐州众研美汇信息科技有限公司
池塘主养鳙技术操作规程
中国水产学会
一种基于交通建设用定点标线装置
徐州众研美汇信息科技有限公司
头孢洛宁的合成
中国技术交易所有限公司
光纤线缆使用的辅助式拖拉装置
贵州知富云科技有限公司
一种便携式牙齿护理装置
贵州知富云科技有限公司
一种陶瓷滤管脱硝脱硫除尘器
徐州众研美汇信息科技有限公司
新兽药泰地罗新的合成
中国技术交易所有限公司
山地插秧机用行进轮
贵州知富云科技有限公司
共16043页 转到