基于ADMM的不平衡大数据分布式分类方法
江苏中机矿山设备有限公司
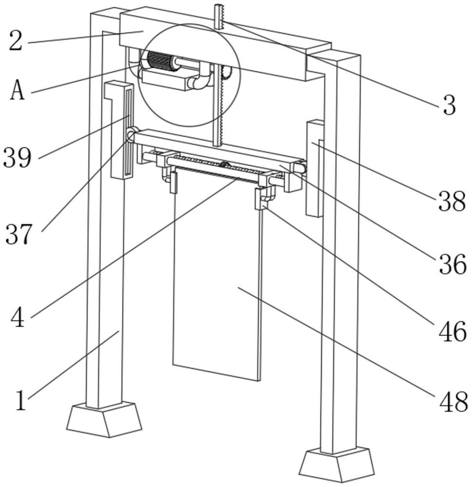
一种板材折弯角度在线测量装置
华中科技大学
一种基于层次分析法的电动汽车能量系统运行模式分析优化方法
江苏中机矿山设备有限公司
一种基于SOM-熵值算法的起重机械能效评价方法
江苏中机矿山设备有限公司
可调控生长因子的立体绿化展览装置
贵州知富云科技有限公司
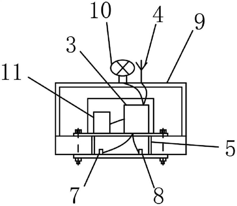
一种具有自动温度和压力监测及预警功能的垃圾转运箱
华中科技大学
基于卡尔曼数据融合的无位置传感器摇臂伺服控制方法
江苏中机矿山设备有限公司
小儿止喘丸
中国技术交易所有限公司
一种磨削材料去除量预测方法、装置、设备及存储介质
华中科技大学
液压剪切钳
贵州知富云科技有限公司
一种污水处理过滤装置
华中科技大学
蜡染装置
贵州知富云科技有限公司
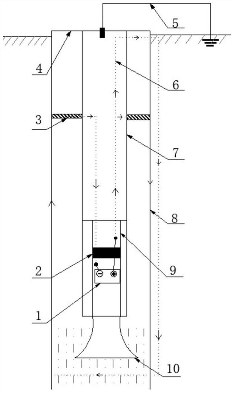
一种自动调谐型井下无线信号传输系统
华中科技大学
一种可提供两种温度水的空气源利用集成机组及供暖系统
广州科技翻译协会
一种模块化称重输送带
广州科技翻译协会
M250A磨床智能化升级改造
大连海洋大学应用技术学院
一种具备断路容错能力的多旋翼飞行器及其动力系统
华中科技大学
一种摩托车尾灯支架安装结构
广州科技翻译协会
一种车用隔音棉
广州科技翻译协会
人文地理教学展示讲解装置
贵州知富云科技有限公司
共16043页 转到