一种汽车零部件连续喷涂生产线
徐州众研美汇信息科技有限公司
基于数据增强和卷积循环神经网络的环境声音分类方法
江苏中机矿山设备有限公司
引信板梁式后坐保险机构
江苏中机矿山设备有限公司
有机硼“敲开”吡啶药物合成“新大门”
天津联创科技发展有限公司
基于电爆炸和激光耦合加载高速飞片的方法及装置
江苏中机矿山设备有限公司
双踏板式液压调速跑步机
贵州知富云科技有限公司
一种蒙脱土-氮化钛-功能石墨烯复合材料润滑油添加剂
江苏中机矿山设备有限公司
高产糯小麦新品种山农糯麦1号的创制与应用
山东农学会
纤维素基接枝改性可逆凝胶及其制备方法
江苏中机矿山设备有限公司
人工血管研究方面新进展
天津联创科技发展有限公司
一种填充型防撞墙
徐州众研美汇信息科技有限公司
肠道病原菌机械力信号传导机制研究领域新进展
天津联创科技发展有限公司
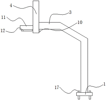
喀斯特洞穴滴水的防脱气多参数监测及集水装置
贵州知富云科技有限公司
一种学校用智能篮球架
贵州知富云科技有限公司
一种养殖水体自动监控及水体富营养化预防系统及方法
徐州众研美汇信息科技有限公司
一种锡锑嵌入式二氧化铅电催化膜电极的制备方法
徐州众研美汇信息科技有限公司
烟农1212超高产选育技术及良种产业化推广模式
山东农学会
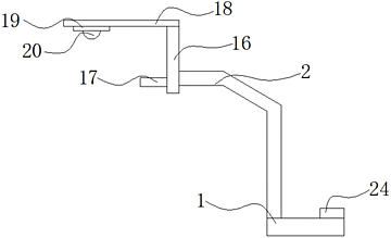
一种适用于洞穴不同高度空气环境监测的装置
贵州知富云科技有限公司
非晶态金属薄带腐蚀电极
贵州知富云科技有限公司
一种具有便于计数功能的学生篮球投篮训练装置
贵州知富云科技有限公司
共16043页 转到