科创中国
问题分诊室
具身智能与智慧医疗融合创新产业
高性能装备制造产业
智能机器人全产业链产业
中医药产业
人工智能产业
新一代信息技术产业
作物产业
量子科技与先进制造产业
海洋装备产业
煤炭开采及煤化工产业
特殊钢产业
节能环保产业
低空经济产业
光电产业
汽车产业
新能源产业
新材料产业
“以竹代塑”
成果发布厅
新型电力系统
化学领域
现代纺织
低空经济
信息通信
智慧公路
煤炭开采及煤化工
中医药
智能机器人全产业链
海洋装备
新一代信息技术
量子科技与先进制造
人工智能
高性能装备制造
具身智能与智慧医疗融合创新
作物
科创地方
科创北京
科创天津
科创内蒙古
科创辽宁
科创河北
科创湖南
科创宁夏
科创广东
科创江苏
科创广西
科创重庆
科创山东
科创河南
科创福建
科创黑龙江
科创湖北
科创浙江
科创山西
科创资讯
科创头条
科协活动
通知公告
科技政策
技术经理人
科技服务团
资源中心
项目库
问题库
案例库
开源库
学术资源
会议展览
品牌栏目
院士开讲
解码新质生产力
金融服务云课堂
企创云课堂
有问题想咨询
有成果想转化
我的交易
我的会议
我报名的路演会议
我的资讯
我的消息
我的动态
我的需求
我的成果
我的
个人资料编辑
退出登录
登录/注册
科创中国
需求发布
成果发布
科创案例库
揭榜挂帅
技术经理人
会议展览
科创联合体
科技服务团
科创资讯
科技政策
院士开讲
学术资源
城市站点
协作站点
搜索
问题库
项目库
开源库
English
我的交易
我的会议
我报名的路演会议
我的资讯
我的消息
我的动态
我的需求
我的成果
我的
个人资料编辑
退出登录
登录/注册
组织入驻
隐藏工作区
全国
在线展厅
切换展厅
全国
北京市
天津市
河北省
山西省
内蒙古
辽宁省
吉林省
黑龙江省
上海市
江苏省
浙江省
安徽省
福建省
江西省
山东省
河南省
湖北省
湖南省
广东省
广西
海南省
重庆市
四川省
贵州省
云南省
西藏
陕西省
甘肃省
青海省
宁夏
新疆
新疆兵团
路演活动
科技成果
参观
人数
0
0
0
0
0
0
0
点赞
人数
0
0
0
0
0
0
0
技术领域
全部
新兴行业
|
新基建
|
电子信息
|
高端产业
|
生物医药
|
石化与新材料
|
智能机械与光机电一体化
|
节能环保
|
新能源
|
现代农业
|
高端技术服务业
|
农林牧副渔
|
城建规划
|
文化创意
|
矿山工程
|
冶金工程
|
企业管理
|
知识产权
|
智库咨询
|
旅游休闲娱乐
|
企业发展服务
|
电子商务
|
纺织
|
其他
|
更多
绿色优质广适玉米新品种邦玉339及其关键栽培技术研究与开发
山东农学会
加权子空间自适应天线方向图旁瓣形状精确控制方法
江苏中机矿山设备有限公司
含脂肪族叔胺基的硫杂蒽酮光引发剂及其制备方法
徐州众研美汇信息科技有限公司
一种带测水装置的碾白室和精米机
徐州众研美汇信息科技有限公司
CdZnTe 高能射线探测材料与器件
潍坊市工程师协会
硫改性的铁锰双金属氧化物及其制备方法和应用
江苏中机矿山设备有限公司
计算机机箱自动散热除尘装置
贵州知富云科技有限公司
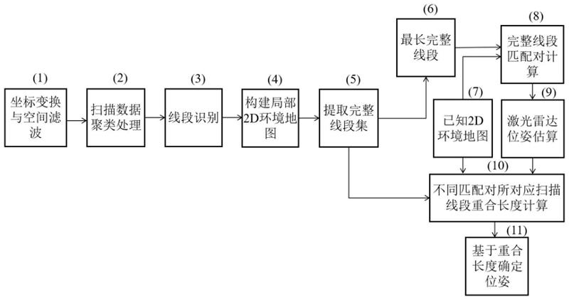
一种基于扫描线段重合长度估计的激光雷达定位方法
江苏中机矿山设备有限公司
节能型 LED 灯标准化电源系列产品
潍坊市工程师协会
一种船舶旋转轴系瞬时转速测量装置及方法
江苏中机矿山设备有限公司
一种可调式辣椒采摘装置
贵州知富云科技有限公司
一种面向移动自组网与因特网混合环境的路由融合方法
江苏中机矿山设备有限公司
一种可调预紧力的机器人缓冲足
江苏中机矿山设备有限公司
古生物化石标本存储箱
贵州知富云科技有限公司
在X波段实现反射/吸波切换的宽带低剖面可重构吸波器
江苏中机矿山设备有限公司
一种研究生物结皮对喀斯特地区水土流失情况的实验装置
贵州知富云科技有限公司
一种基于区块链与边缘辅助的物联网设备认证方法及系统
江苏中机矿山设备有限公司
基于分支定界的多期望信号下的阵列自适应波束形成方法
江苏中机矿山设备有限公司
基于双向开关控制的级联整流式锂电池均衡器
徐州众研美汇信息科技有限公司
一种基于状态数最优决策模型的风电功率序列建模方法
江苏中机矿山设备有限公司
首页
上一页
6604
6605
6606
6607
6608
6609
6610
下一页
尾页
共16043页 转到
页