一种用于给水管的护套式保温管件
贵州知富云科技有限公司
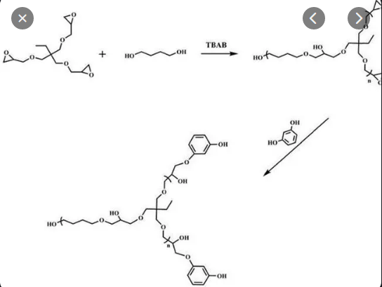
超支化聚合物在防水卷材中的应用
中国技术交易所有限公司
一种核壳型阳离子丙烯酸树脂的制备方法
武汉理工大学
植物扦插土壤打孔机
贵州知富云科技有限公司
一种爆炸螺栓自动上料装置及爆炸螺栓自动安装设备
广州科技翻译协会
超支化聚合物在阻燃输送带抗静电剂中的应用
中国技术交易所有限公司
一种喀斯特地区地表地下立体土壤流失监测装置
贵州知富云科技有限公司
一种电梯导轨自动校准装置
广州科技翻译协会
一种季铵盐超支化型抗静电剂及其制备方法
中国技术交易所有限公司
基于改进的动态深度聚焦的相控阵超声检测技术
北航工研院
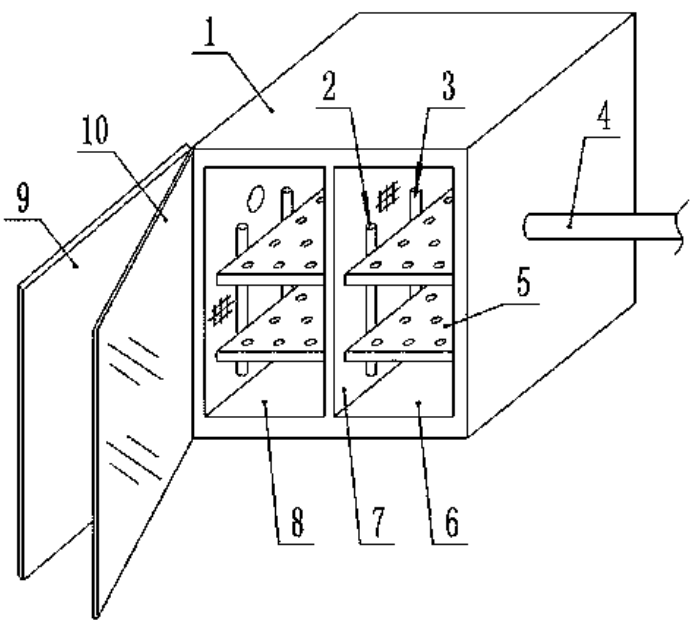
作物紫外线光照对照研究专用培养箱
贵州知富云科技有限公司
一种风力发电机的叶片清洁装置
贵州知富云科技有限公司
一种喀斯特地区水土养分迁移监测装置
贵州知富云科技有限公司
基于低成本硅相机的昼夜连续彩色成像系统
北航工研院
超支化聚合物在混凝土减缩剂中的应用
中国技术交易所有限公司
多功能果壳脱粒机
贵州知富云科技有限公司
一种河面垃圾收集装置
贵州知富云科技有限公司
多功能吸虫装置
贵州知富云科技有限公司
便携式野外灯诱装置
贵州知富云科技有限公司
一种通信工程用的分类束缚式的线束整理结构
贵州知富云科技有限公司
共16043页 转到