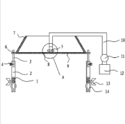
一种用于喀斯特地区野外地下漏失盆栽实验的模拟降雨器
贵州知富云科技有限公司
粮食作物干种子微量贮存装置
贵州知富云科技有限公司
带钢成品激光打标机器人
数字化转型专业科技服务团
一种方便使用的人工智能充电桩
贵州知富云科技有限公司
关于微型纯电动汽车用直流无刷电机动力总成技术
辽宁工业大学
无人天车与智能库管技术
数字化转型专业科技服务团
头花蓼活性组分、提取方法及应用
贵州知富云科技有限公司
可折叠水陆空三栖四旋翼飞行器
贵州知富云科技有限公司
磨辊间智能信息管控与决策技术
数字化转型专业科技服务团
一种基于碳碳键的高性能界面制备方法
华中科技大学
建筑装修用快速抹墙机
贵州知富云科技有限公司
喀斯特地区花椒树的施肥沟结构
贵州知富云科技有限公司
一种用于喀斯特地区野外田间旱棚装置
贵州知富云科技有限公司
苦瓜新品种抗病性鉴定
中国农业科学院蔬菜花卉研究所
喀斯特地区花椒林有机肥撒施方法
贵州知富云科技有限公司
一种用于喀斯特地区牧草采样的样方框
贵州知富云科技有限公司
一种喀斯特地区牛羊圈粪便清理装置
贵州知富云科技有限公司
一种喀斯特地区植物生长模拟试验装置
贵州知富云科技有限公司
一种适用于喀斯特地区具有微量施肥功能的翻土铲
贵州知富云科技有限公司
一种电商平台用物流分拣装置
贵州知富云科技有限公司
共16043页 转到