一种低温感高精度钨系延期药配方
江苏中机矿山设备有限公司
基于学习的条纹相位恢复和散斑相关的三维测量方法
江苏中机矿山设备有限公司
一种用于弹体自动装填的托弹装置及其使用方法
江苏中机矿山设备有限公司
一种可以改变制退效率的半开腔式制退器
江苏中机矿山设备有限公司
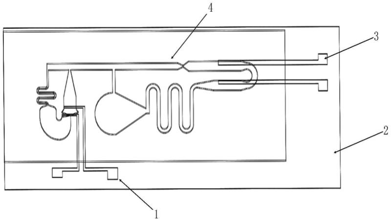
一种小口径弹药微流体引信安保机构
江苏中机矿山设备有限公司
考虑动态特性的高速压力机底座可靠性稳健设计方法
温州大学
一种高速压力机底座动态特性的可靠性设计方法
温州大学
一种适用于不同管径管件弯曲成形上下料的管件夹持末端执行装置
温州大学
一种考虑多目标多约束性能均衡的机械结构稳健优化设计方法
温州大学
一种三维打印装置及其振动式铺粉装置
温州大学
基于电性能幅值加权的阵元安装位置的测量方法
温州大学
基于双分支深度神经网络的变尺寸阵列结构性能预测方法
温州大学
一种换热温差驱动的精馏塔分裂热耦合方法
温州大学
基于非对称损失神经网络的产品关键零件剩余寿命预测方法
温州大学
一种单驱动四指同步夹持的新型重载夹持装置
温州大学
一种新型复合材料结构高承载力轻量化设计方法
温州大学
一种基于区间约束三维违反矢量的机械结构性能稳健优化设计方法
温州大学
含区间参数不确定性结构的稳健性优化设计方法
温州大学
一种考虑多类型不确定性的高速压力机施力部件可靠性设计方法
温州大学
一种基于多属性编码及动态权重的图形匹配方法
温州大学
共16043页 转到