中椒长福
中国农业科学院蔬菜花卉研究所
一种生产白术脱毒苗的方法
贵州知富云科技有限公司
一种过渡金属族金属硫化物析氧催化剂的制备方法
江苏中机矿山设备有限公司
基于机器学习的车联网通信的流量预测方法
江苏中机矿山设备有限公司
一种肿瘤取样装置
潍坊医学院附属医院
传感大数据的车辆行车安全智能监测控制装置
贵州知富云科技有限公司
TS42高端双主轴双刀塔车铣复合
宁波市科技创新协会
一种基于光学芯片基底的显微光谱测量装置及方法
江苏中机矿山设备有限公司
中椒242号
中国农业科学院蔬菜花卉研究所
一种适用于高原山地气候的叶面积指数仪
贵州知富云科技有限公司
一种Fe氧化物纳米材料的制备方法及应用
徐州众研美汇信息科技有限公司
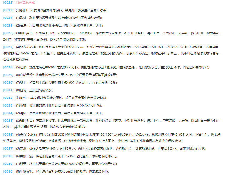
金荞叶绿茶
贵州知富云科技有限公司
一种提高质子交换膜燃料电池钛基双极板耐蚀性的方法
江苏中机矿山设备有限公司
一种基于三层加权模型的文本聚类集成方法及系统
徐州众研美汇信息科技有限公司
一种工业纯铝导线的制备方法
江苏中机矿山设备有限公司
机器学习-纳米生物效应领域的突破
天津联创科技发展有限公司
一种基于自适应神经网络模型的曝气系统溶解氧控制方法
徐州众研美汇信息科技有限公司
一种在水中合成α-烷基化酮的方法
江苏中机矿山设备有限公司
聚四氟乙烯/羟丙基-β-环糊精-白藜芦醇抗氧化薄膜的制备方法
江苏中机矿山设备有限公司
“铁催化”本科生团队开发“空气-铁盐催化体系”开创绿色有机合成新途径
天津联创科技发展有限公司
共16043页 转到