一种强噪声环境下的滚动轴承故障诊断方法及系统
江苏中机矿山设备有限公司
一种基于WNN-AFS优化算法的MEMS陀螺随机误差预测方法
江苏中机矿山设备有限公司
一种具有自动跟随功能的运动障碍检测设备
浙江大学
一种采用磁电复合材料的易安装电流传感器
江苏中机矿山设备有限公司
一种交互式认知障碍检测设备
浙江大学
一种基于QT图形框架的电气元件模型快速创建方法
江苏中机矿山设备有限公司
脉冲电场测量系统的频率响应标定装置及方法
江苏中机矿山设备有限公司
芳纶纳米纤维/聚乙烯醇/金/导电聚苯胺复合薄膜材料及其制备方法
江苏中机矿山设备有限公司
红酵母及其培养方法和在生产生物油脂中的应用
江苏中机矿山设备有限公司
一种基于视频的常见神经退行性疾病早期诊断辅助决策设备
浙江大学
一种用于微惯性测量单元重复利用的抗高过载减振结构
江苏中机矿山设备有限公司
一种面部表情识别的智能终端
浙江大学
生物导电纳米纤维组织工程支架的制备方法
江苏中机矿山设备有限公司
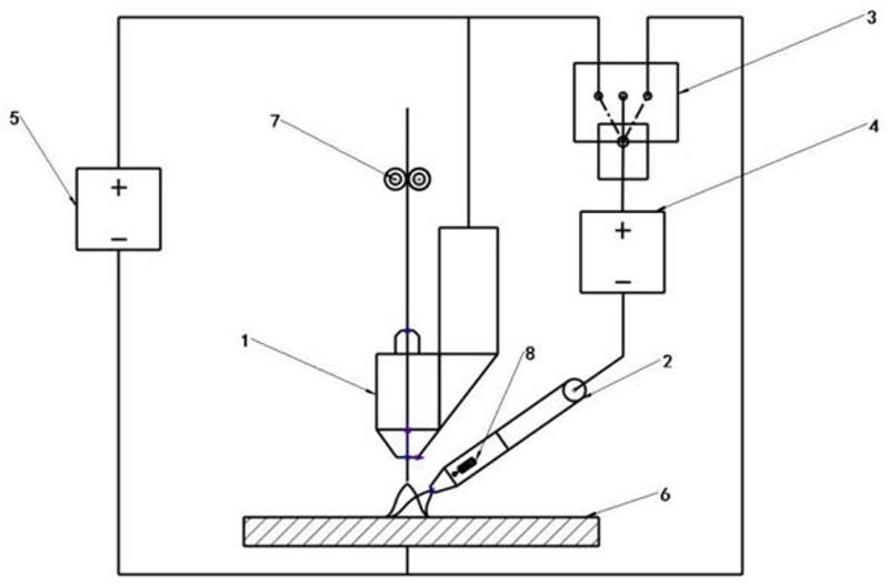
一种热输入可调的熔化极电弧增材的方法及装置
江苏中机矿山设备有限公司
一种针对移动摄像机的背景减除方法
浙江大学
一种多段线驱连续体机械臂动力学建模方法
江苏中机矿山设备有限公司
一种基于视觉的快速行人检测方法
浙江大学
基于FPGA的环绕视频拼接显示方法及系统
江苏中机矿山设备有限公司
一种具有双面惰性气体保护的激光焊接夹具
江苏中机矿山设备有限公司
基于视频的行为分析方法、装置、设备
浙江大学
共16043页 转到