油膜驱替特性模拟装置及系统
中国石油大学(北京)
二氢色原酮骨架拼接多环吡咯螺环氧化吲哚化合物及其制备方法及应用
贵州知富云科技有限公司
一种机械制造工作液的净化装置及方法
徐州众研美汇信息科技有限公司
储层中凝胶调堵剂性能测量方法与装置
中国石油大学(北京)
一种原状磷石膏蒸压加气混凝土的制备方法
徐州众研美汇信息科技有限公司
一种产红色素的菌株及生产红色素的方法
徐州众研美汇信息科技有限公司
汽车垫块
贵州知富云科技有限公司
用于高压实验的微压差计量装置
中国石油大学(北京)
一种隧道施工用钢支撑固定装置
贵州知富云科技有限公司
测高测距装置
徐州众研美汇信息科技有限公司
稠油井筒举升降粘模拟装置及方法
中国石油大学(北京)
一种用于隧道施工使用的移动式支撑装置
贵州知富云科技有限公司
油气藏衰竭和吞吐开采模拟装置
中国石油大学(北京)
检测水中三价铁离子的荧光探针
贵州知富云科技有限公司
慧眼治污、把脉降碳——基于电力大数据的减污降碳决策平台
国网数字科技控股有限公司
一种非均质低渗油藏的开采方法及调剖剂
中国石油大学(北京)
一种新型小型化宽带SW-SIW喇叭天线及其设计方法
贵州知富云科技有限公司
既有隧洞扩建时拱顶方向的开挖方法
贵州知富云科技有限公司
电子转移活化再生催化剂引发体系及成胶时间控制方法
中国石油大学(北京)
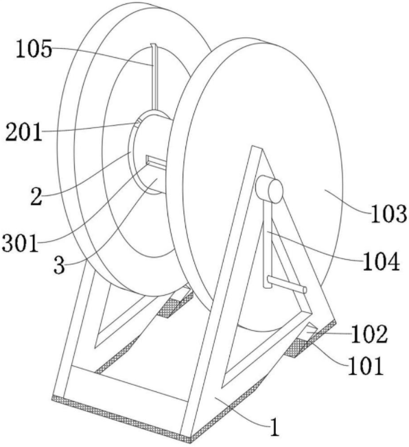
方便携带的农业灌溉用水管盘卷
贵州知富云科技有限公司
共16043页 转到