随钻核磁共振测井仪探头及随钻核磁共振测井仪
中国石油大学
一种基于大数据的铁路客流分析方法及其系统
江苏中机矿山设备有限公司
基于尾车驶离模型的干线周期分配方法及系统
江苏中机矿山设备有限公司
石油储层岩石的组分识别及定量评价方法
中国石油大学
一种宽带双极化紧耦合天线单元及阵列
江苏中机矿山设备有限公司
核磁共振井下流体分析仪
中国石油大学
八角茴香油-β-环糊精包合物及其制备方法、药物组合物
新疆全安药业有限公司
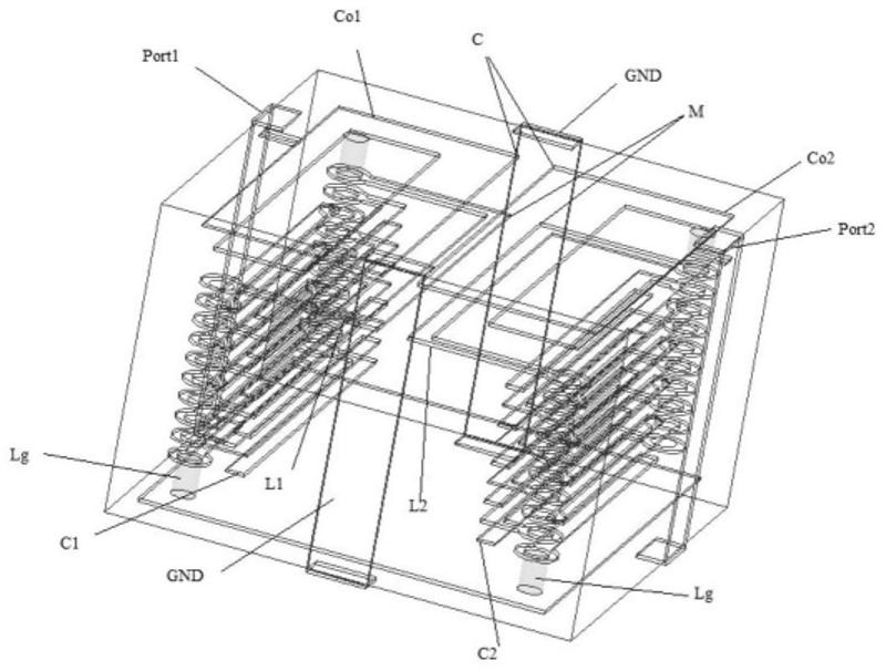
一种基于LTCC的小型化高性能带通滤波器
江苏中机矿山设备有限公司
基于图像处理的密贴检查器接触点参数检测装置及方法
江苏中机矿山设备有限公司
原油粘度快速测量方法
中国石油大学
一种适用于挤出机变速的丝杠式自动换挡机构
江苏中机矿山设备有限公司
页岩气含量分析方法和装置
中国石油大学
番茄油中番茄红素的二次回收方法
新疆红帆生物科技有限公司
微/纳米核壳结构Si@PDA的制备方法
江苏中机矿山设备有限公司
获得原状地层的流体径向油水饱和度变化的方法及装置
中国石油大学
芳纶纳米纤维/聚乙烯醇/聚苯胺复合水凝胶及其制备方法和应用
江苏中机矿山设备有限公司
一种用核磁共振技术表征非均质润湿孔隙介质润湿性的方法
中国石油大学
加速器用速调管
中国技术交易所有限公司
基于双电动缸同步运动误差建模的自适应鲁棒控制方法
江苏中机矿山设备有限公司
微好氧条件下强化吡啶生物降解的菌藻共生系统
江苏中机矿山设备有限公司
共16043页 转到