探讨顺行与逆行插管途径介入治疗急性下肢 深静脉血栓形成的疗效比较
濮阳市人民医院
一种抗高温环保型油基钻井液降滤失剂
新疆华油能源工程服务有限公司
一种基于无线传感网络的森林火灾探测系统
江苏中机矿山设备有限公司
一种单电信号激励超声椭圆振动挤压加工装置
苏州科技大学
即食海带面生产技术
中国技术交易所有限公司
赤泥高分子复合材料
中国地质大学(北京)
防护服高效冷却与湿度控制装置
北航工研院
多孔弹性材料的非回转高频振动取条或打孔方法及装置
苏州科技大学
'
吴新明
发酵型海藻酱油生产技术
中国技术交易所有限公司
一种执行器铆接卷边设备
苏州科技大学
大功率高可靠性的逆变高压电源
北航工研院
利用海洋微生物发酵技术生产绿色海藻肥项目
中国技术交易所有限公司
多参数流式细胞术对多发性骨消患者的珍断和预后预测价值
濮阳市人民医院
一种高加湿效率的净化型空气加湿器
田志坚
一种高深宽比沟槽加工装置及方法
苏州科技大学
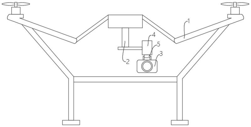
一种无人机视觉定位用摄像结构
江苏中机矿山设备有限公司
基于甲壳素的二次电池
北航工研院
发酵型百合酒生产技术
中国技术交易所有限公司
一种便携式机械加工铣床设备
苏州科技大学
共16043页 转到