扶正短节
巴州鸿源石油装备器材有限公司
液压增力装置及井下液压增力解卡装置
新疆华油油气工程有限公司
便携式机箱
巴州德诺能源科技有限责任公司
超高超大坡度斜屋面分段施工工法
中国建筑第五工程局有限公司
手撕面包状的疏松层状石墨烯气凝胶
贵州知富云科技有限公司
扭矩监控仪
巴州德诺能源科技有限责任公司
一种1,4-丁炔二醇催化剂再生氧化炉的燃气烧嘴
新疆美克化工股份有限公司
一种用于油田酸化过程中酸液的净化过滤装置
新疆力科石油化工技术服务有限公司
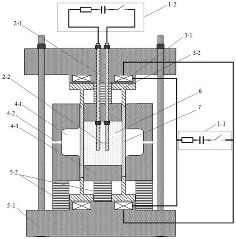
一种电磁翻边成形装置及方法
华中科技大学
水果盒
巴州大高商贸有限公司
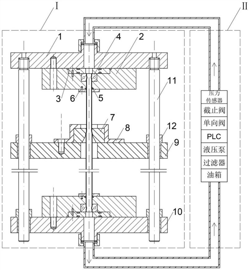
一种电磁驱动-电液管件成形装置及方法
华中科技大学
微波制备硅‑金属‑碳复合材料
贵州知富云科技有限公司
包装盒(大高库尔勒香梨)
巴州大高商贸有限公司
一种具有双荧光发射的小分子荧光探针的应用
华中科技大学
一种妇产科会阴缝合辅助器
个人
金属工件加工的防崩切断装置
贵州知富云科技有限公司
一种微型薄壁金属管的充液拉拔装置及方法
华中科技大学
饮用水中铝、铁、铬、汞、铕、铥和镱离子的检测方法
贵州知富云科技有限公司
一种选择性分离耐药杆菌的印迹薄膜材料及其制备与应用
华中科技大学
基于污染源普查的城市工业源 VOCs 排放特征及管控建议
濮阳市生态环境局
共16043页 转到