减盐豆瓣酱护色技术
河北省科技成果展示交易中心
一种适用于复杂零件和模具的增材加工成形方法
华中科技大学
食用芝麻焙炒生产工艺技术研究与应用
河北省科技成果展示交易中心
测定人血浆中唑尼沙胺浓度方法学技术开发
哈尔滨真君谛生物医药科技有限公司
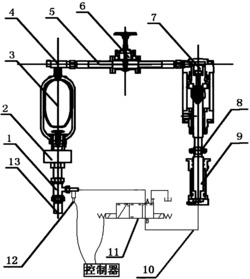
一种实现直线摆动的摆辗机
武汉理工大学
中药皮肤抑菌剂――皮克I号高新技术项目
河北省科技成果展示交易中心
人血浆中卡马西平浓度测定方法学技术开发
哈尔滨真君谛生物医药科技有限公司
新型烷醇酰胺表面活性剂的生产技术
河北省科技成果展示交易中心
烷基葡糖酰胺双子表面活性剂的产业化技术
河北省科技成果展示交易中心
测定大鼠血浆中布洛芬的浓度方法学技术开发
哈尔滨真君谛生物医药科技有限公司
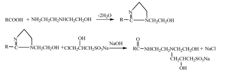
酰胺基改性的羧酸盐类表面活性剂的产业化技术
河北省科技成果展示交易中心
妥尔油脂肪酸咪唑啉表面活性剂生产技术
河北省科技成果展示交易中心
罗匹尼罗贴剂技术开发
哈尔滨真君谛生物医药科技有限公司
花育25号
山东省花生研究所
智能式血压手表
北京航空航天大学
刺五加功能营养液工艺技术开发
哈尔滨真君谛生物医药科技有限公司
胶原化生物陶瓷人工骨
上海贝奥路生物材料有限公司
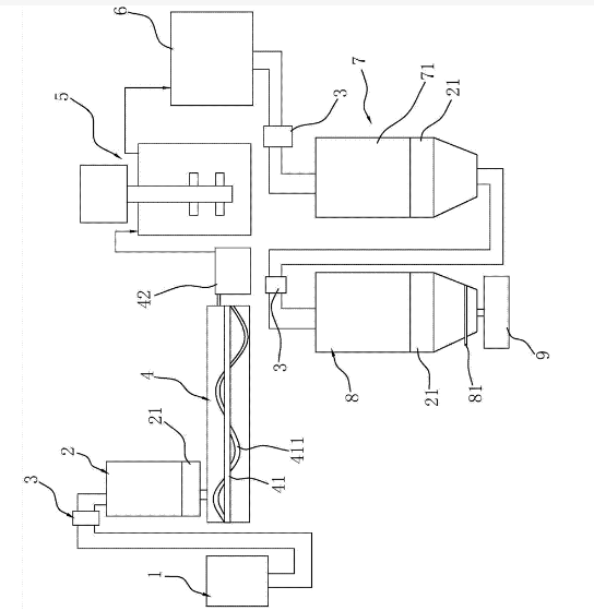
一种输入‑输出特性可控式液压蓄能装置
武汉理工大学
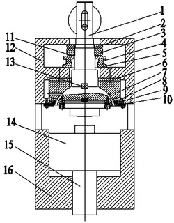
收缩齿弧齿非圆锥齿轮的设计方法
武汉理工大学
单硝酸异山梨酯缓释透皮贴剂工艺技术开发
哈尔滨真君谛生物医药科技有限公司
共16031页 转到