治疗脂肪肝的中药制剂临床批件转让
河北省科技成果展示交易中心
一种分布式光伏互动终端和方法
江苏中机矿山设备有限公司
用于癫痫的多种发作类型的治疗以及偏头痛、双向障碍的治疗的新药
河北省科技成果展示交易中心
六维压电式能量收集器
江苏中机矿山设备有限公司
关节发电器
江苏中机矿山设备有限公司
一种便携式发电装置
江苏中机矿山设备有限公司
一种治疗儿童注意力缺陷(多动症)的新药
河北省科技成果展示交易中心
一种基于主从摄像机的学生跟踪定位方法
江苏中机矿山设备有限公司
一种基于压缩感知与改进遗传算法的WSN定位方法
江苏中机矿山设备有限公司
汽车后桥从动螺旋齿轮齿形的成形方法及模具
武汉理工大学
基于有限元技术和人工神经网络的精冲模具磨损预测方法
武汉理工大学
鸡肉豆腐新技术
河北省科技成果展示交易中心
一种海洋采样检测无人机
江苏中机矿山设备有限公司
发电机磁极精锻成形的方法
武汉理工大学
燃料电池金属双极板成形模具及成形方法
武汉理工大学
复杂空间曲面点式移动感应加热淬火装置及方法
武汉理工大学
生物法制备医药中间体甘草次酸的绿色生产工艺
中国兵工学会
一种中厚板差热体积成形装置及工艺
武汉理工大学
一种多机器人协同打磨铸锻件飞边的装置及方法
武汉理工大学
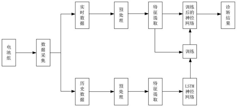
一种基于人工智能的电动汽车电池故障诊断方法及设备
江苏中机矿山设备有限公司
共16031页 转到