一种新型口罩包装工艺
徐州日月星安防设备科技有限公司
一种面向Appium的Java测试代码质量评判方法
江苏中机矿山设备有限公司
一种基于区块链的多方会议准入方法和系统
江苏中机矿山设备有限公司
一种基于5G的消防安全监控方法及系统
江苏中机矿山设备有限公司
具有压力冷却圈的立式珩磨机
常州凯瑞莱精密工具有限公司
一种应用集群自适应的弹性配置方法
江苏中机矿山设备有限公司
共轴双旋翼无人机及其移动控制方法
江苏中机矿山设备有限公司
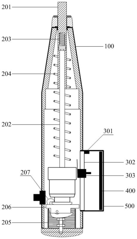
一种基于NB-IoT的高精度智能混凝土回弹仪
江苏中机矿山设备有限公司
一种有效降低容器化关系型数据库I/O消耗的方法
江苏中机矿山设备有限公司
一种用于回弹仪距离检测的高精度电容测距装置
江苏中机矿山设备有限公司
一种全自动调平三脚支架
江苏中机矿山设备有限公司
一种面向变电站施工中人员跟踪和违章作业检测的方法
江苏中机矿山设备有限公司
一种逆变器输出功率解耦下的频率恢复控制方法及装置
江苏中机矿山设备有限公司
一种问答网站中专家推荐方法及系统
江苏中机矿山设备有限公司
一种带物联网功能的容器装置,利用物联网技术实施防伪防盗防掺假
湖南大湘汇商务有限公司
一种思想政治教育宣传栏
新疆财经大学商务学院
一种油烟净化器电场片清洗装置
巴州米山环保科技有限公司
露营被褥
巴州新棉棉业有限公司
一种残膜捡拾机具
新疆凯利莱机械制造有限责任公司
一种柔性悬挂臂
新疆凯利莱机械制造有限责任公司
共16031页 转到