科创中国
问题分诊室
具身智能与智慧医疗融合创新产业
高性能装备制造产业
智能机器人全产业链产业
中医药产业
人工智能产业
新一代信息技术产业
作物产业
量子科技与先进制造产业
海洋装备产业
煤炭开采及煤化工产业
特殊钢产业
节能环保产业
低空经济产业
光电产业
汽车产业
新能源产业
新材料产业
“以竹代塑”
成果发布厅
新型电力系统
化学领域
现代纺织
低空经济
信息通信
智慧公路
煤炭开采及煤化工
中医药
智能机器人全产业链
海洋装备
新一代信息技术
量子科技与先进制造
人工智能
高性能装备制造
具身智能与智慧医疗融合创新
作物
科创地方
科创北京
科创天津
科创内蒙古
科创辽宁
科创河北
科创湖南
科创宁夏
科创广东
科创江苏
科创广西
科创重庆
科创山东
科创河南
科创福建
科创黑龙江
科创湖北
科创浙江
科创山西
科创资讯
科创头条
科协活动
通知公告
科技政策
技术经理人
科技服务团
资源中心
项目库
问题库
案例库
开源库
学术资源
会议展览
品牌栏目
院士开讲
解码新质生产力
金融服务云课堂
企创云课堂
有问题想咨询
有成果想转化
我的交易
我的会议
我报名的路演会议
我的资讯
我的消息
我的动态
我的需求
我的成果
我的
个人资料编辑
退出登录
登录/注册
科创中国
需求发布
成果发布
科创案例库
揭榜挂帅
技术经理人
会议展览
科创联合体
科技服务团
科创资讯
科技政策
院士开讲
学术资源
城市站点
协作站点
搜索
问题库
项目库
开源库
English
我的交易
我的会议
我报名的路演会议
我的资讯
我的消息
我的动态
我的需求
我的成果
我的
个人资料编辑
退出登录
登录/注册
组织入驻
隐藏工作区
全国
在线展厅
切换展厅
全国
北京市
天津市
河北省
山西省
内蒙古
辽宁省
吉林省
黑龙江省
上海市
江苏省
浙江省
安徽省
福建省
江西省
山东省
河南省
湖北省
湖南省
广东省
广西
海南省
重庆市
四川省
贵州省
云南省
西藏
陕西省
甘肃省
青海省
宁夏
新疆
新疆兵团
路演活动
科技成果
参观
人数
0
0
0
0
0
0
0
点赞
人数
0
0
0
0
0
0
0
技术领域
全部
新兴行业
|
新基建
|
电子信息
|
高端产业
|
生物医药
|
石化与新材料
|
智能机械与光机电一体化
|
节能环保
|
新能源
|
现代农业
|
高端技术服务业
|
农林牧副渔
|
城建规划
|
文化创意
|
矿山工程
|
冶金工程
|
企业管理
|
知识产权
|
智库咨询
|
旅游休闲娱乐
|
企业发展服务
|
电子商务
|
纺织
|
其他
|
更多
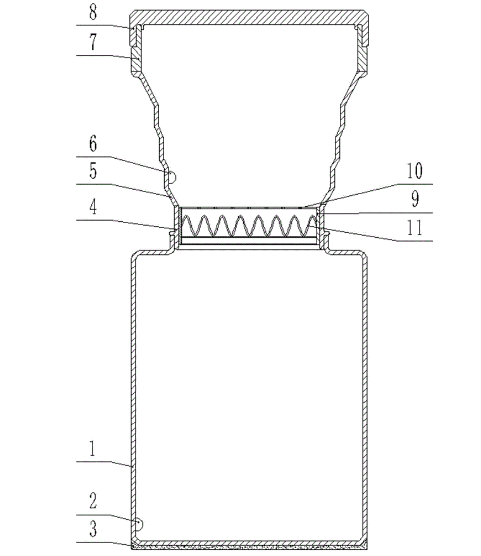
一种线缆导向保护结构
常州盛研电子科技有限公司
一种高强度纯PE拉筋片膜分切折叠装置
常州树杰塑业有限公司
一种偏振自动稳定控制的全光纤级联激光放大装置
华东师范大学
一种防水型太阳能光伏用回转减速器
科森传动设备常州有限公司
一种780nm的高功率光纤飞秒激光器
华东师范大学
一种基于安全防护的矿用传感器
江苏优特安智能科技有限公司
一种PDC旋切复合钻头及其施工方法
常州智港智能装备有限公司
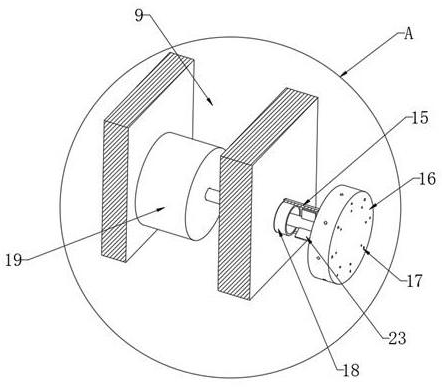
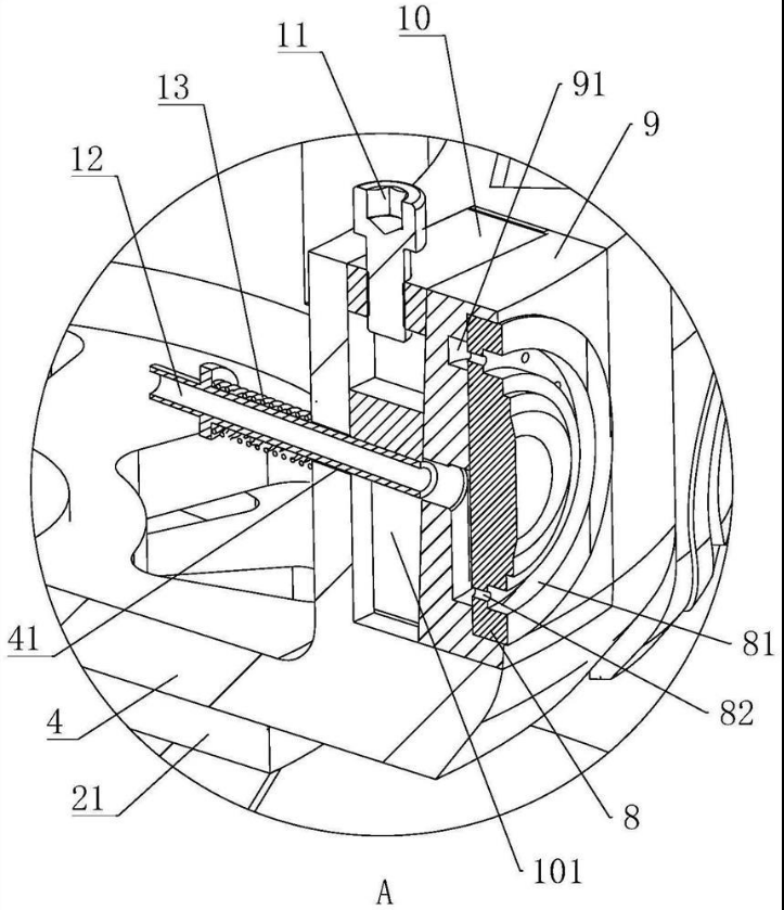
一种燃烧室机匣壁面安装座焊接夹具及焊接变形控制方法
中国航发常州兰翔机械有限责任公司
基于空气导流调控的智能可变式空调进气格栅组件
常州市佳乐车辆配件制造有限公司
一种低烟、高GWIT、高CTI阻燃增强材料及其制备方法
常州威材新材料科技有限公司
一种抗老化浆料高效反应釜
江苏博汇纸业有限公司
一种预浸料窄带收卷用小角度张力传送装置
常州新创航空科技有限公司
一种筒镜光学系统
苏州协尔智能光电有限公司
分切刀具及分切装置
江苏时代新能源科技有限公司
基于梁式试件的筋材-混凝土粘结性能测试的可调节钢铰
河北省科技成果展示交易中心
一种导热阻燃PC复合材料及其制备方法
飞荣达科技(江苏)有限公司
高效节能的苦咸水/海水淡化装置
浙江万里学院
“水分子”便携式系列净水杯
河北省科技成果展示交易中心
基于双Sigmoid混沌神经网络的信号盲检测方法
江苏中机矿山设备有限公司
用于EPB模型验证与参数匹配的测试台架、测试方法以及EPB系统
坤泰车辆系统(常州)股份有限公司
首页
上一页
6227
6228
6229
6230
6231
6232
6233
下一页
尾页
共16031页 转到
页