管道用磁过滤自清洁系统及阀体自清洁方法
江苏红运智能装备有限公司
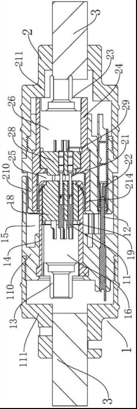
一种双循环冷却式齿轮主轴
冈田精机(常州)有限公司
一种水泥电线杆
荆川
精益生产技术
河北省科技成果展示交易中心
一种基于线缆垂向定位的高空作业平台
湖北脉辉金茂机械有限公司
修复与再制造技术
河北省科技成果展示交易中心
一种环保生物胶乳制备用储存罐
江苏博汇纸业有限公司
利用废渣多离子掺杂生产高强水泥熟料
河北省科技成果展示交易中心
全废渣制造免煅烧工业废石膏水泥
河北省科技成果展示交易中心
一种储能式液氮冷能利用的有机尾气回收方法及装置
常州大恒环保科技有限公司
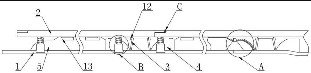
组合安装的运输用车辆地板总成
常州市瑞悦车业有限公司
天津市龙网科技发展有限公司的“洪水实时分析及动态展示系统
天津市龙网科技发展有限公司
天津中发智能科技有限公司的“中发数字网格化城市运维管理平台”
天津中发智能科技有限公司
天津市西青区高新技术产业区开发区华苑产业区海泰西路6号(邮编:300000)
天津戊峰科技发展有限公司
一种多路阀阀体内腔坭芯及其制作方法和制作的流道芯
溧阳市万盛铸造有限公司
基于主成分分析和神经网络的中小信贷策略模型
常州工学院
一种自适应触发增量学习的工业物联网设备故障诊断系统
河海大学常州校区
一种钢管焊接用自定位夹具
常州机电职业技术学院
一种组合式高压连接器
常州锐迪夫电子科技有限公司
节能减排视阙下煤矿生产物流系统安全资源配置研究
河北省科技成果展示交易中心
共16031页 转到