偕二氟化螺-γ-内酰胺吲哚啉化合物及其制备方法和在防治植物病虫害中的应用
南开大学
香豆素类衍生物在防治植物病毒、杀菌和杀虫方面的应用
南开大学
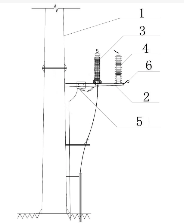
一种电缆终端头
河北省科技成果展示交易中心
保护专用数据传输通道模拟仪器
河北省科技成果展示交易中心
一种咪唑类离子液体的合成装置及应用
南开大学
一种采用氨水蒸汽爆破技术处理秸秆制取半纤维素的方法
南开大学
电梯运行方式时钟控制器
河北省科技成果展示交易中心
一种秸秆降解复合菌剂的制备方法及其应用
南开大学
用咪唑类离子液体提取木质纤维素类生物质纤维素的方法
南开大学
粘结性隔膜及其制备方法
常州市新创智能科技有限公司
一种生物质发酵反应装置及应用
南开大学
一种快速好氧堆肥反应装置及其应用
南开大学
一种扩散分离器
南开大学
铝盘管压力快速测量装置
常州市武进顺达精密钢管有限公司
一种无臭高效厨余垃圾处理装置及其应用
南开大学
废弃线路板无损拆解处理技术
中国软件行业协会
一种利用组合沉淀剂分离蔗渣中综纤维素的方法
南开大学
一种城市生活垃圾破袋发酵一体化装置及应用
南开大学
光伏储能微网的UPQC容量优化方法
江苏理工学院
一种固定式好氧堆肥反应器
南开大学
共16032页 转到