豫西陕渑煤田矿井突水规律及突水灾害防治技术
河北省科技成果展示交易中心
新型喹唑啉类衍生物及其制备方法、抗HIV活性和抗TMV活性
南开大学
儿童地板坐垫
常州山水橡塑制品有限公司
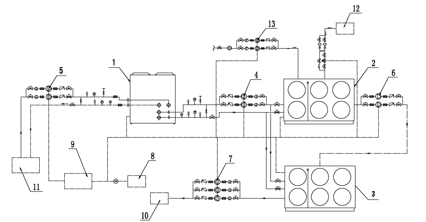
油田作业特种污水无害化处理技术研究
河北省科技成果展示交易中心
氰基丙烯酸酯类化合物及在农药和医药上的应用
南开大学
哒嗪类衍生物及其制备方法、抗HIV活性和抗TMV活性
南开大学
嘧啶酮酰胺类化合物及其制备方法、抗HIV活性和抗TMV活性
南开大学
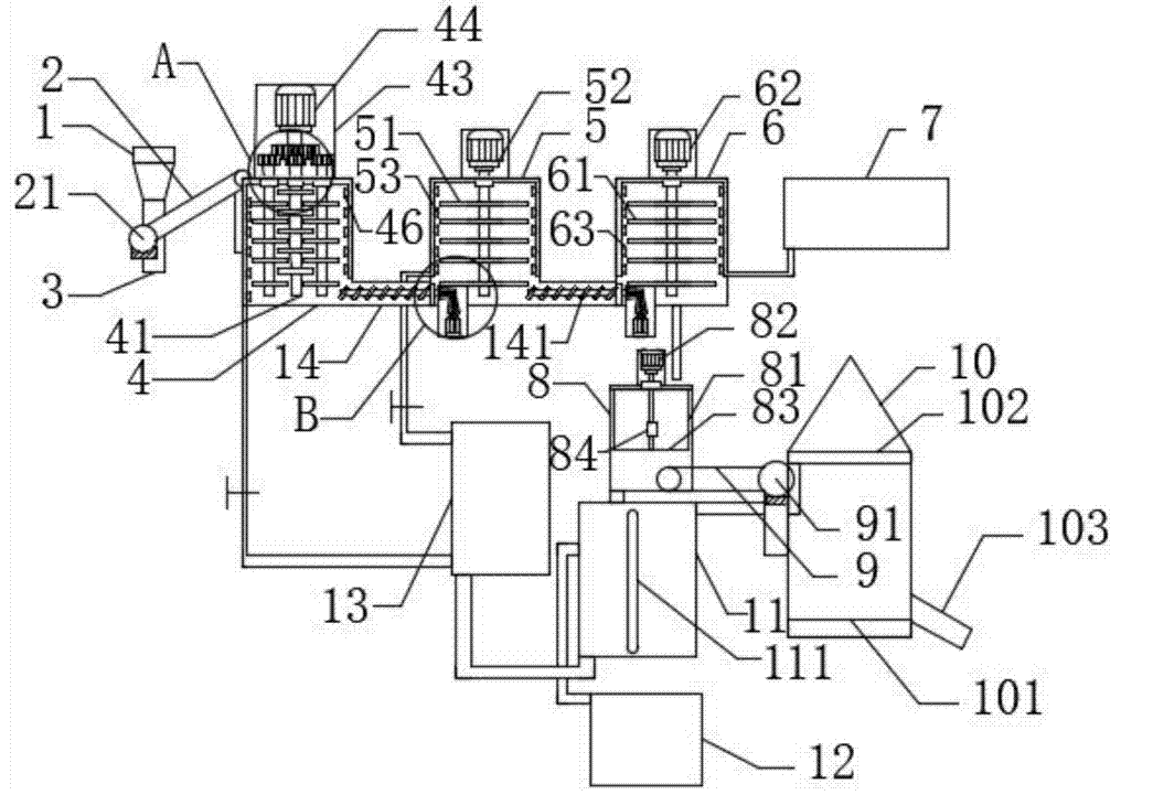
一种用于污水厂水下清泥作业机器人及其工作方法
福州新城市政工程设计有限公司
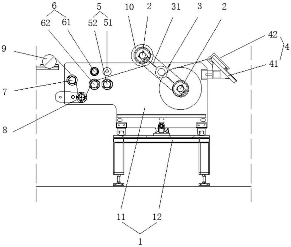
一种塑料薄膜用收卷用移动周转架
常州树杰塑业有限公司
配气炉式吸附制冷装置(太阳能余热能制冷空调)
河北省科技成果展示交易中心
DMAP盐酸盐作为可回收酰基化反应催化剂的制备和应用
南开大学
一种针对金属钢管生产的超声波探伤设备及其探伤方法
常州市康成精密钢管有限公司
不饱和聚酯树脂基玻璃钢复合材料及其制备方法
新阳科技集团有限公司
一种数据中心配套用模块化水冷散热装置
江苏海鋆自动化技术有限公司
一种PEM电解槽
稷航生物科技(江苏)有限公司
棉酚希夫碱衍生物及制备和在抗植物烟草花叶病毒病方面的应用
南开大学
一种双向预浸料织物自动换卷系统
江苏帝威新材料科技发展有限公司
Nortopsentin类生物碱衍生物及其制备和在防治病虫害中的应用
南开大学
9位取代的娃儿藤碱衍生物及其制备和在抗烟草花叶病毒活性中的应用
南开大学
一种13a-羟基娃儿藤碱的全合成新方法
南开大学
共16032页 转到