科创中国
问题分诊室
具身智能与智慧医疗融合创新产业
高性能装备制造产业
智能机器人全产业链产业
中医药产业
人工智能产业
新一代信息技术产业
作物产业
量子科技与先进制造产业
海洋装备产业
煤炭开采及煤化工产业
特殊钢产业
节能环保产业
低空经济产业
光电产业
汽车产业
新能源产业
新材料产业
“以竹代塑”
成果发布厅
新型电力系统
化学领域
现代纺织
低空经济
信息通信
智慧公路
煤炭开采及煤化工
中医药
智能机器人全产业链
海洋装备
新一代信息技术
量子科技与先进制造
人工智能
高性能装备制造
具身智能与智慧医疗融合创新
作物
科创地方
科创北京
科创天津
科创内蒙古
科创辽宁
科创河北
科创湖南
科创宁夏
科创广东
科创江苏
科创广西
科创重庆
科创山东
科创河南
科创福建
科创黑龙江
科创湖北
科创浙江
科创山西
科创资讯
科创头条
科协活动
通知公告
科技政策
技术经理人
科技服务团
资源中心
项目库
问题库
案例库
开源库
学术资源
会议展览
品牌栏目
院士开讲
解码新质生产力
金融服务云课堂
企创云课堂
有问题想咨询
有成果想转化
我的交易
我的会议
我报名的路演会议
我的资讯
我的消息
我的动态
我的需求
我的成果
我的
个人资料编辑
退出登录
登录/注册
科创中国
需求发布
成果发布
科创案例库
揭榜挂帅
技术经理人
会议展览
科创联合体
科技服务团
科创资讯
科技政策
院士开讲
学术资源
城市站点
协作站点
搜索
问题库
项目库
开源库
English
我的交易
我的会议
我报名的路演会议
我的资讯
我的消息
我的动态
我的需求
我的成果
我的
个人资料编辑
退出登录
登录/注册
组织入驻
隐藏工作区
全国
在线展厅
切换展厅
全国
北京市
天津市
河北省
山西省
内蒙古
辽宁省
吉林省
黑龙江省
上海市
江苏省
浙江省
安徽省
福建省
江西省
山东省
河南省
湖北省
湖南省
广东省
广西
海南省
重庆市
四川省
贵州省
云南省
西藏
陕西省
甘肃省
青海省
宁夏
新疆
新疆兵团
路演活动
科技成果
参观
人数
0
0
0
0
0
0
0
点赞
人数
0
0
0
0
0
0
0
技术领域
全部
新兴行业
|
新基建
|
电子信息
|
高端产业
|
生物医药
|
石化与新材料
|
智能机械与光机电一体化
|
节能环保
|
新能源
|
现代农业
|
高端技术服务业
|
农林牧副渔
|
城建规划
|
文化创意
|
矿山工程
|
冶金工程
|
企业管理
|
知识产权
|
智库咨询
|
旅游休闲娱乐
|
企业发展服务
|
电子商务
|
纺织
|
其他
|
更多
制浆造纸有机固体废弃物高值化利用技术
河北省科技成果展示交易中心
草浆碱回收白泥精制碳酸钙技术
河北省科技成果展示交易中心
废弃交联塑料及多层复合薄膜的高值化回收利用新技术
河北省科技成果展示交易中心
合成革清洁生产关键材料和产业化技术
河北省科技成果展示交易中心
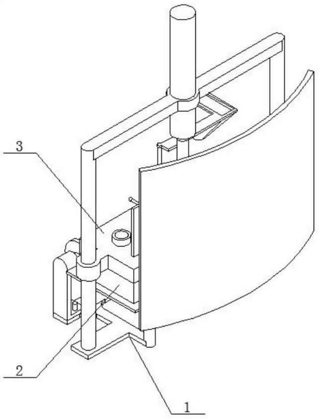
一种轨道交通制动件铸件模具
常州工学院
一种高速轨道交通制动件铸型结构及其制造工艺
常州工学院
一种基于室温和IBA-LSTM的供热需求负荷评估方法及系统
济南热力集团有限公司
高铝粉煤灰制高端建材
中科院过程工程研究所
废旧活性炭再生及疏水改性
中科院过程工程研究所
铬鞣废液资源化利用
河北省科技成果展示交易中心
制革固体废弃物制备胶原蛋白的改性用作造纸施胶剂及制备污水处理絮凝剂
河北省科技成果展示交易中心
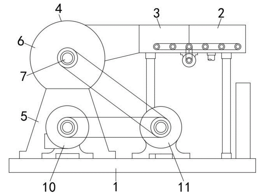
一种多功能激光焊接实验平台
华中科技大学
利用革屑制备环保再生纤维革技术
河北省科技成果展示交易中心
3-芳基丙烯酸及其衍生物抗植物病毒剂
南开大学
一种高稳定性的时序信号发生方法及装置
华中科技大学
芳甲胺类化合物及其制备方法和抗植物病毒应用
南开大学
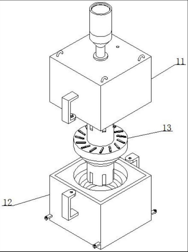
一种单电源三丝共熔滴的电弧增材制造系统
华中科技大学
铃薯病毒和瓜类病毒及玉米矮花叶病毒等,可有含菲杂环类化合物及其制备方法和抗植物 效防治烟草、辣椒、水
南开大学
NK007的两个光学纯异构体及其杀菌应用
南开大学
一种多场辅助的金刚石切削设备
华中科技大学
首页
上一页
6179
6180
6181
6182
6183
6184
6185
下一页
尾页
共16032页 转到
页