小型化高稳定度光频原子钟
北京大学
抗热冲击/耐侵蚀特种陶瓷蒸发舟的研制与产业化
河北省科技成果展示交易中心
钢卷挂标设备及其挂标方法
常州皓鸣信息科技有限公司
用于高质量光纤插针原料的ZrO2超细粉低成本规模化制备技术
河北省科技成果展示交易中心
一种风速自适应的精量排种装置
江苏中机矿山设备有限公司
儿童地板坐垫(九十一)
江苏省常州市新北区春江镇圩塘民营工业园常州山水橡塑制品有限公司
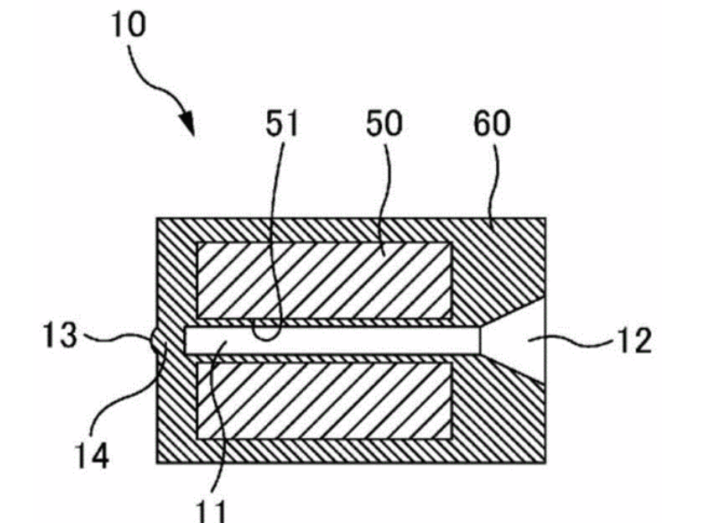
一种共模电感
江苏英飞源智慧能源有限公司
一种轴承钢丝绳盘卷装置
常州市长特轴承制造有限公司
天津市亿人科技发展有限公司的“游戏云解决方案”
天津市亿人科技发展有限公司
基于图神经网络的动态推理对话生成方法
江苏中机矿山设备有限公司
智能化高性能稳频法拉第激光
北京大学
一种面向推荐系统的改进协同过滤算法
江苏中机矿山设备有限公司
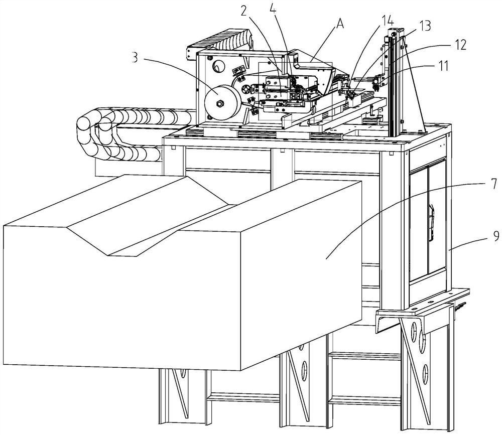
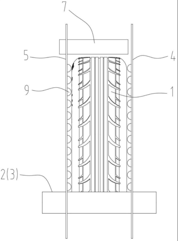
一种自修复轮胎的涂胶方法及其设备
江苏洪海轮胎科技有限公司
儿童地板坐垫(六十二)
常州山水橡塑制品有限公司
一种轴承钢丝线卷打包装置
常州市长特轴承制造有限公司
一种基于提升算法的江西省小流域山洪易发性制图方法
江苏中机矿山设备有限公司
新一代通用化智能临床研究数据平台
北京大学
一种基于GIS与集成学习的山洪灾害易发性评价方法
江苏中机矿山设备有限公司
一种锯片真空镀膜前的清洗固定装置
常州夸克涂层科技有限公司
基于高分辨率遥感图像多特征的识别方法
江苏中机矿山设备有限公司
共16032页 转到