一种山地城市土地利用演变的模拟方法
江苏中机矿山设备有限公司
一种模拟稠油热流体驱替的方法及系统
常州大学
一种基于岭模型树算法的山洪灾害易发性评估方法
江苏中机矿山设备有限公司
一种基于电磁波的车辆定位系统
江苏中机矿山设备有限公司
一种基于图像渲染的果实生长形态辨识方法
常州大学
含有单脲桥结构三嗪酮衍生物及其制备方法和在杀虫、杀菌方面的应用
南开大学
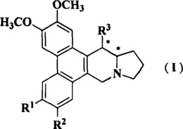
(13aS,14S)-14-氨基菲并吲哚里西啶生物碱衍生物以及它们的制备、抗植物病毒活性
南开大学
含异噁唑啉结构的苯甲酰脲类化合物及制备和应用
南开大学
含菲杂环类化合物及其制备方法和抗植物病毒应用
南开大学
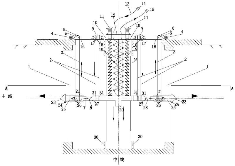
一种水工建筑物竖向变形监测装置及方法
江苏中机矿山设备有限公司
纳米粘土和脱硫灰渣固化的乳化沥青混合料及其制备方法
江苏中机矿山设备有限公司
菲并吲哚里西啶生物碱糖基化产物及6-位衍生化产物及它们的制备、抗植物病毒活性
南开大学
考虑电压稳定性及事故综合代价的直流受端系统紧急负荷控制方法
江苏中机矿山设备有限公司
菲并吲哚里西啶生物碱6-位衍生物及其制备、抗植物病毒、抗癌活性
南开大学
一种铝基非晶耐蚀涂层用的粉芯丝材
江苏中机矿山设备有限公司
混凝土坝仓面振捣任务分配方法
江苏中机矿山设备有限公司
4-苯基对位含有硫醚及其衍生结构的噁唑啉类化合物、制备和作为杀虫杀螨剂的应用
南开大学
一种工程项目管理方法及系统
江苏中机矿山设备有限公司
一种高空玻璃清洗六足爬壁机器人
江苏中机矿山设备有限公司
新能源汽车氢燃料电池回收装置
江苏中机矿山设备有限公司
共16032页 转到