亚麻棉交织免烫面料的染整工艺
河北省科技成果展示交易中心
锌镍电池正极材料及其制备方法和使用该正极材料的锌镍电池
江苏理工学院
大齿轮检测设备
江苏理工学院
组网系统及其工作方法
江苏理工学院
高品质钢连铸板坯凝固冷却精益控制关键技术
数字化转型专业科技服务团
电镀法螺旋碳纤维负载镍水性防腐隐身涂料及其制备方法
江苏理工学院
转炉智能炉料结构模型及应用
数字化转型专业科技服务团
一种超市购物车
河海大学常州校区
一种屋顶分布式光伏系统的最佳倾角计算方法
河海大学常州校区
稀土强化的高强韧耐磨焊条
河海大学常州校区
健康养老服务与大数据分析平台
数字化转型专业科技服务团
关于高功率密度轮毂电机控制器装置技术
合肥工业大学
基于毫米波雷达的非接触式健康监测系统
数字化转型专业科技服务团
船舶轨迹实时预测方法
江苏理工学院
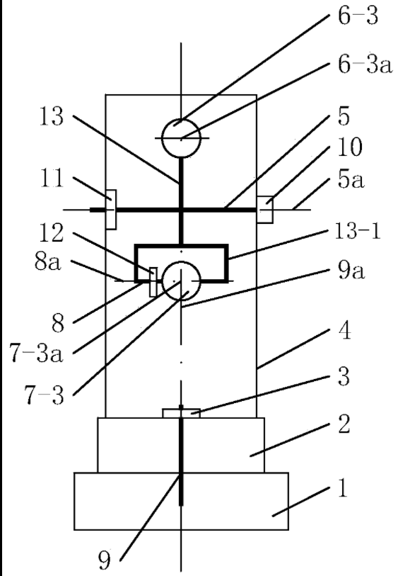
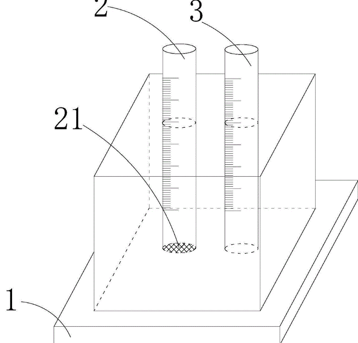
水泥土渗透系数测定装置及其测定方法
河北省科技成果展示交易中心
直升机蒙皮环保脱漆剂
河北省科技成果展示交易中心
首钢顺义冷连轧机板形大数据分析与挖掘利用
数字化转型专业科技服务团
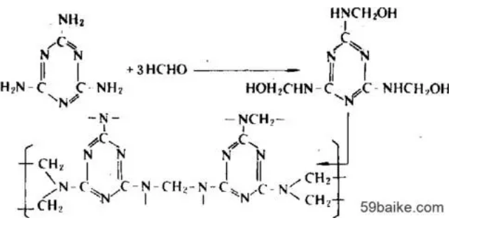
三聚氰胺渗透剂、固化剂、脱模剂
河北省科技成果展示交易中心
一种具有多重防伪功能的防伪字模材料
河北省科技成果展示交易中心
在纯铝表面形成纳米级多孔膜层的方法
江苏理工学院
共16032页 转到