科创中国
问题分诊室
具身智能与智慧医疗融合创新产业
高性能装备制造产业
智能机器人全产业链产业
中医药产业
人工智能产业
新一代信息技术产业
作物产业
量子科技与先进制造产业
海洋装备产业
煤炭开采及煤化工产业
特殊钢产业
节能环保产业
低空经济产业
光电产业
汽车产业
新能源产业
新材料产业
“以竹代塑”
成果发布厅
新型电力系统
化学领域
现代纺织
低空经济
信息通信
智慧公路
煤炭开采及煤化工
中医药
智能机器人全产业链
海洋装备
新一代信息技术
量子科技与先进制造
人工智能
高性能装备制造
具身智能与智慧医疗融合创新
作物
科创地方
科创北京
科创天津
科创内蒙古
科创辽宁
科创河北
科创湖南
科创宁夏
科创广东
科创江苏
科创广西
科创重庆
科创山东
科创河南
科创福建
科创黑龙江
科创湖北
科创浙江
科创山西
科创资讯
科创头条
科协活动
通知公告
科技政策
技术经理人
科技服务团
资源中心
项目库
问题库
案例库
开源库
学术资源
会议展览
品牌栏目
院士开讲
解码新质生产力
金融服务云课堂
企创云课堂
有问题想咨询
有成果想转化
我的交易
我的会议
我报名的路演会议
我的资讯
我的消息
我的动态
我的需求
我的成果
我的
个人资料编辑
退出登录
登录/注册
科创中国
需求发布
成果发布
科创案例库
揭榜挂帅
技术经理人
会议展览
科创联合体
科技服务团
科创资讯
科技政策
院士开讲
学术资源
城市站点
协作站点
搜索
问题库
项目库
开源库
English
我的交易
我的会议
我报名的路演会议
我的资讯
我的消息
我的动态
我的需求
我的成果
我的
个人资料编辑
退出登录
登录/注册
组织入驻
隐藏工作区
全国
在线展厅
切换展厅
全国
北京市
天津市
河北省
山西省
内蒙古
辽宁省
吉林省
黑龙江省
上海市
江苏省
浙江省
安徽省
福建省
江西省
山东省
河南省
湖北省
湖南省
广东省
广西
海南省
重庆市
四川省
贵州省
云南省
西藏
陕西省
甘肃省
青海省
宁夏
新疆
新疆兵团
路演活动
科技成果
参观
人数
0
0
0
0
0
0
0
点赞
人数
0
0
0
0
0
0
0
技术领域
全部
新兴行业
|
新基建
|
电子信息
|
高端产业
|
生物医药
|
石化与新材料
|
智能机械与光机电一体化
|
节能环保
|
新能源
|
现代农业
|
高端技术服务业
|
农林牧副渔
|
城建规划
|
文化创意
|
矿山工程
|
冶金工程
|
企业管理
|
知识产权
|
智库咨询
|
旅游休闲娱乐
|
企业发展服务
|
电子商务
|
纺织
|
其他
|
更多
一种基于石化企业生产装置的物料输送控制方法
温州大学
钢铁行业副产高炉煤气自平衡调度系统及产消量预测方法
温州大学
一种石墨烯电池组热管理系统
江苏理工学院
一种校正测量数据显著误差与随机误差的方法
温州大学
电子材料3D打印设备开发与应用
北京大学
一种基于替代数据法的工业过程非线性检测方法
温州大学
一种工业控制回路时变振荡行为检测方法
温州大学
附带控制器输出约束的PI控制回路性能评估方法
温州大学
一种多品种钢铁批量轧制动态生产计划系统
温州大学
不锈钢纤维填充热塑性导电塑料
北京大学
一种基于改进局部均值分解的工业控制回路振荡检测方法
温州大学
大型车辆转向主动安全系统的工作方法
江苏理工学院
一种卷板机卷板内外曲率半径在线智能测量装置
江苏理工学院
LNG脱碳工段
七台河三聚隆鹏新能源有限责任公司
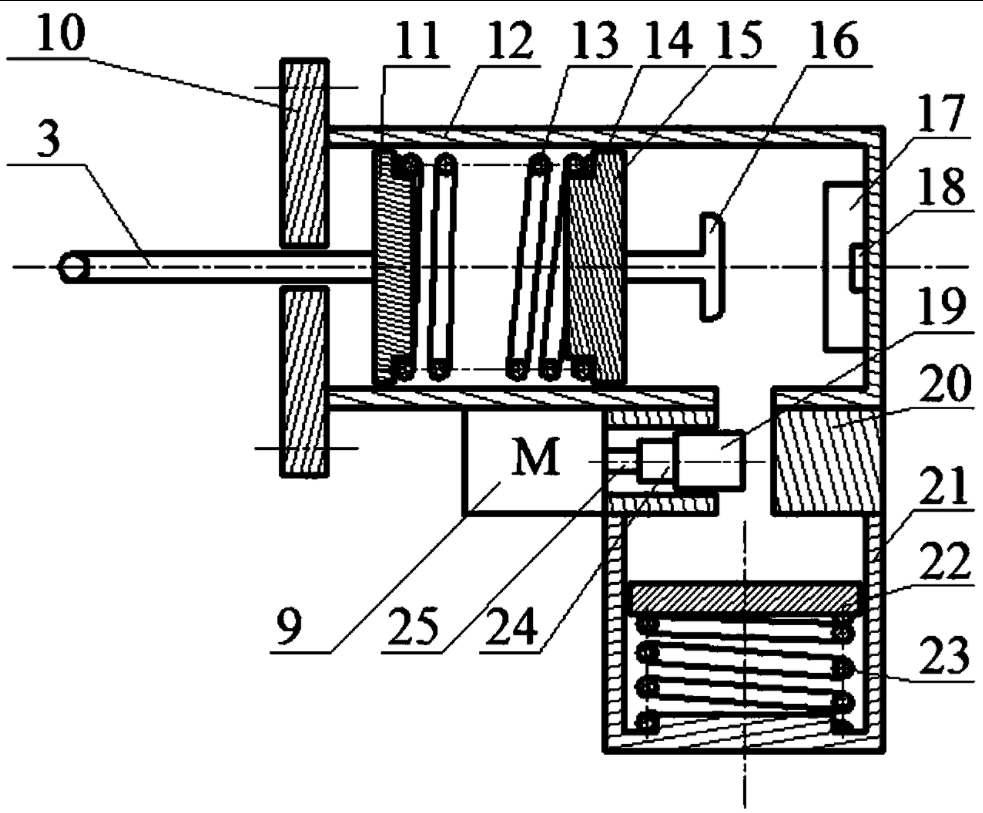
一种采用电动执行机构的汽车制动系统
江苏理工学院
造气炉工段
七台河三聚隆鹏新能源有限责任公司
基于MES工作流的石化企业生产过程控制系统及方法
温州大学
一种基于事件跟踪、还原和反馈的生产过程控制方法
温州大学
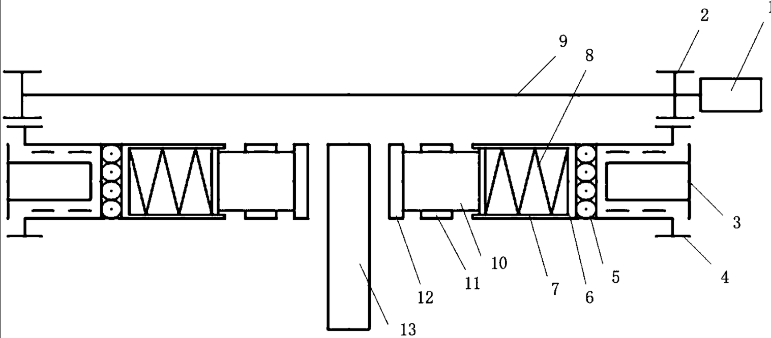
一种可调式阻尼踏板感觉模拟器及其汽车制动踏板机构
江苏理工学院
导电原子力显微镜针尖处理技术
北京大学
首页
上一页
6137
6138
6139
6140
6141
6142
6143
下一页
尾页
共16030页 转到
页