科创中国
问题分诊室
具身智能与智慧医疗融合创新产业
高性能装备制造产业
智能机器人全产业链产业
中医药产业
人工智能产业
新一代信息技术产业
作物产业
量子科技与先进制造产业
海洋装备产业
煤炭开采及煤化工产业
特殊钢产业
节能环保产业
低空经济产业
光电产业
汽车产业
新能源产业
新材料产业
“以竹代塑”
成果发布厅
新型电力系统
化学领域
现代纺织
低空经济
信息通信
智慧公路
煤炭开采及煤化工
中医药
智能机器人全产业链
海洋装备
新一代信息技术
量子科技与先进制造
人工智能
高性能装备制造
具身智能与智慧医疗融合创新
作物
科创地方
科创北京
科创天津
科创内蒙古
科创辽宁
科创河北
科创湖南
科创宁夏
科创广东
科创江苏
科创广西
科创重庆
科创山东
科创河南
科创福建
科创黑龙江
科创湖北
科创浙江
科创山西
科创资讯
科创头条
科协活动
通知公告
科技政策
技术经理人
科技服务团
资源中心
项目库
问题库
案例库
开源库
学术资源
会议展览
品牌栏目
院士开讲
解码新质生产力
金融服务云课堂
企创云课堂
有问题想咨询
有成果想转化
我的交易
我的会议
我报名的路演会议
我的资讯
我的消息
我的动态
我的需求
我的成果
我的
个人资料编辑
退出登录
登录/注册
科创中国
需求发布
成果发布
科创案例库
揭榜挂帅
技术经理人
会议展览
科创联合体
科技服务团
科创资讯
科技政策
院士开讲
学术资源
城市站点
协作站点
搜索
问题库
项目库
开源库
English
我的交易
我的会议
我报名的路演会议
我的资讯
我的消息
我的动态
我的需求
我的成果
我的
个人资料编辑
退出登录
登录/注册
组织入驻
隐藏工作区
全国
在线展厅
切换展厅
全国
北京市
天津市
河北省
山西省
内蒙古
辽宁省
吉林省
黑龙江省
上海市
江苏省
浙江省
安徽省
福建省
江西省
山东省
河南省
湖北省
湖南省
广东省
广西
海南省
重庆市
四川省
贵州省
云南省
西藏
陕西省
甘肃省
青海省
宁夏
新疆
新疆兵团
路演活动
科技成果
参观
人数
0
0
0
0
0
0
0
点赞
人数
0
0
0
0
0
0
0
技术领域
全部
新兴行业
|
新基建
|
电子信息
|
高端产业
|
生物医药
|
石化与新材料
|
智能机械与光机电一体化
|
节能环保
|
新能源
|
现代农业
|
高端技术服务业
|
农林牧副渔
|
城建规划
|
文化创意
|
矿山工程
|
冶金工程
|
企业管理
|
知识产权
|
智库咨询
|
旅游休闲娱乐
|
企业发展服务
|
电子商务
|
纺织
|
其他
|
更多
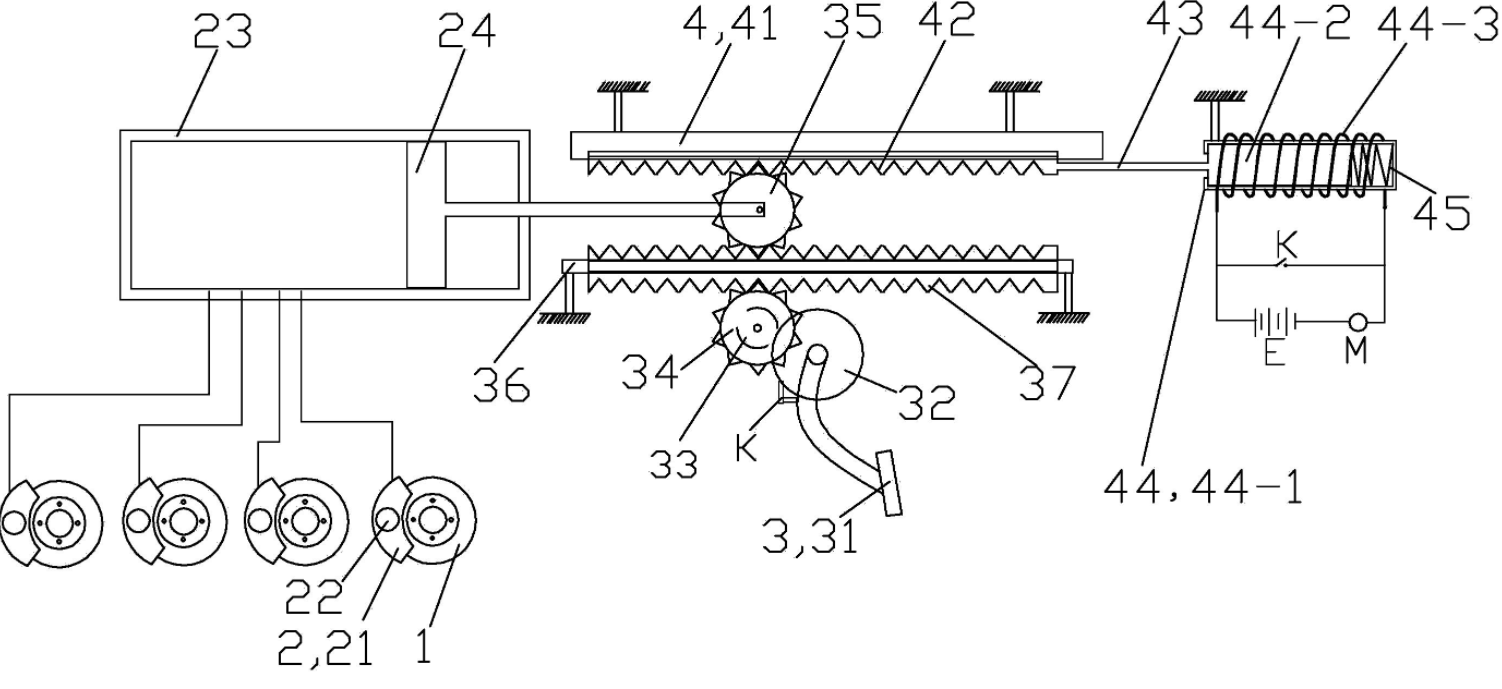
电动汽车电制动与液压制动协调控制方法
江苏理工学院
一种聚多巴胺包覆混合粉体改性抑爆材料的制备方法
常州大学
一种新型移动式汽车尾气自动抽排系统
江苏理工学院
基于CatBoost算法的长非编码RNA识别方法
常州大学
含氮有机络合剂的合成及其在硫酸铝中
河北省科技成果展示交易中心
Ppy-MIP/ZrO2@C/NPG/GCE分子印迹电化学传感器及制备方法和应用
常州大学
一种高温度稳定性的突变壳聚糖酶
常州大学
一种非平衡态等离子体协同水力空化污水降解装置
常州大学
一种工业园区中水回用组合处理池及其使用方法
常州大学
一种聚二甲基硅氧烷/氧化石墨烯改性聚氨酯及其制备方法
常州大学
油基泥浆处理装置及油基泥浆处理方法
常州大学
智能车间
江苏信利电子常州有限公司
一种具备交叉换位功能的机械控制装置及其控制方法
江苏理工学院
一种基于MABR的一体化废水处理装置
常州大学
供热收费管理软件
黑龙江省众微科技有限公司
用氨 碳酸钠分离回收低钴高锰废料中钴和锰的方法
江苏理工学院
一种球状超结构的双金属镍铜氧化物/合金复合材料的制备方法及其应用方法
常州大学
粮食经营管理软件
黑龙江省众微科技有限公司
用于催化异戊烯二聚的三维苯基框架有机多孔催化剂
常州大学
视频会议系统改造
黑龙江省众微科技有限公司
首页
上一页
6123
6124
6125
6126
6127
6128
6129
下一页
尾页
共16030页 转到
页