一种亚线性时间分布式计算围长的最小社区发现方法
华中科技大学
一种便携式结构素描教具
常州信息职业技术学院
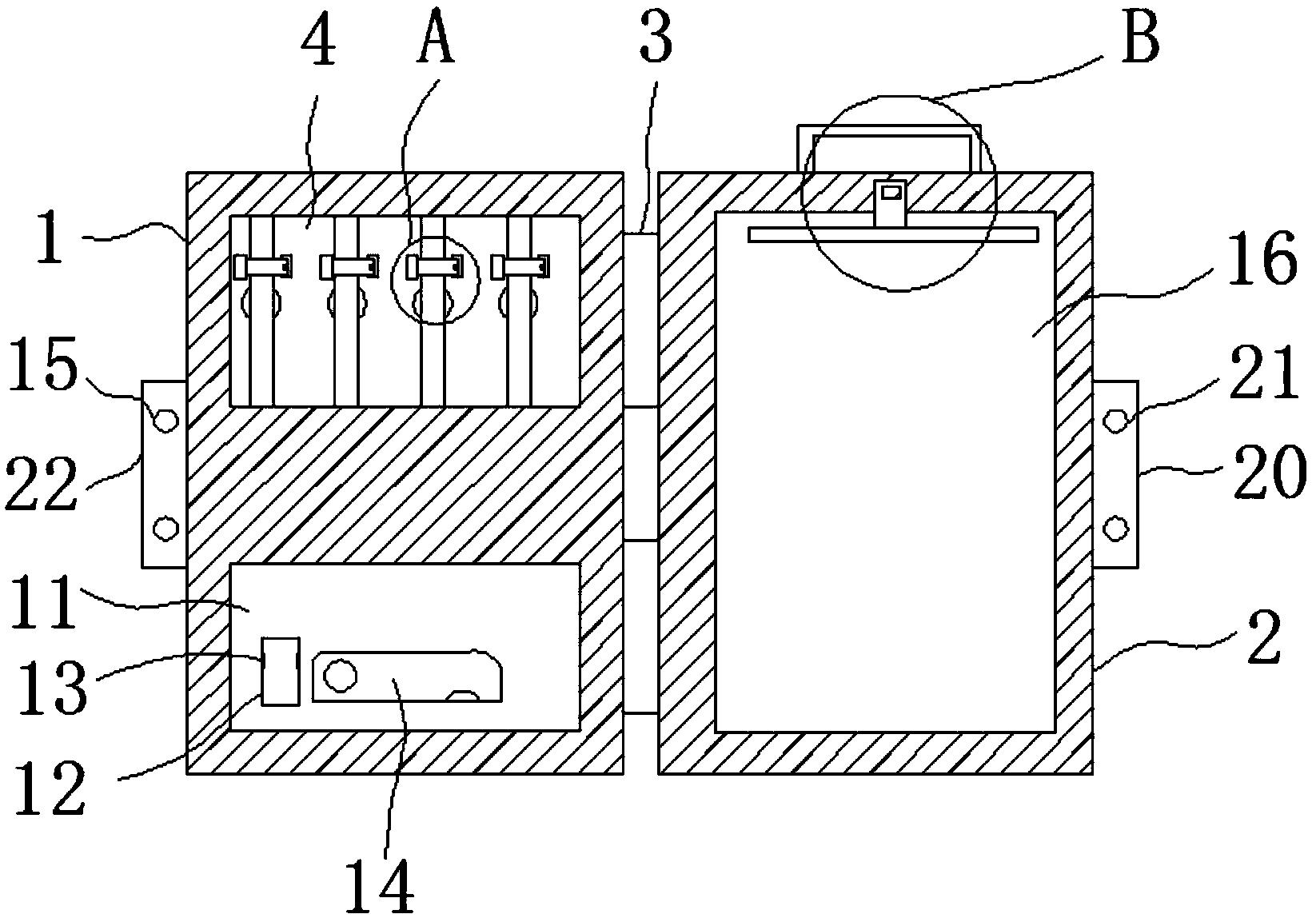
一种用于教学管理用的智能化学籍档案存放装置
温州理工学院
基于信令数据的城市道路交通拥堵排名方法及系统
华中科技大学
一种安全传输的ZigBee-WiFi网络网关
常州信息职业技术学院
一种面向图计算的高层次综合方法及系统
华中科技大学
一种动态图下多边更新的单轮核值维护方法
华中科技大学
基于插入位置选择的数据近似集合表示方法及系统
华中科技大学
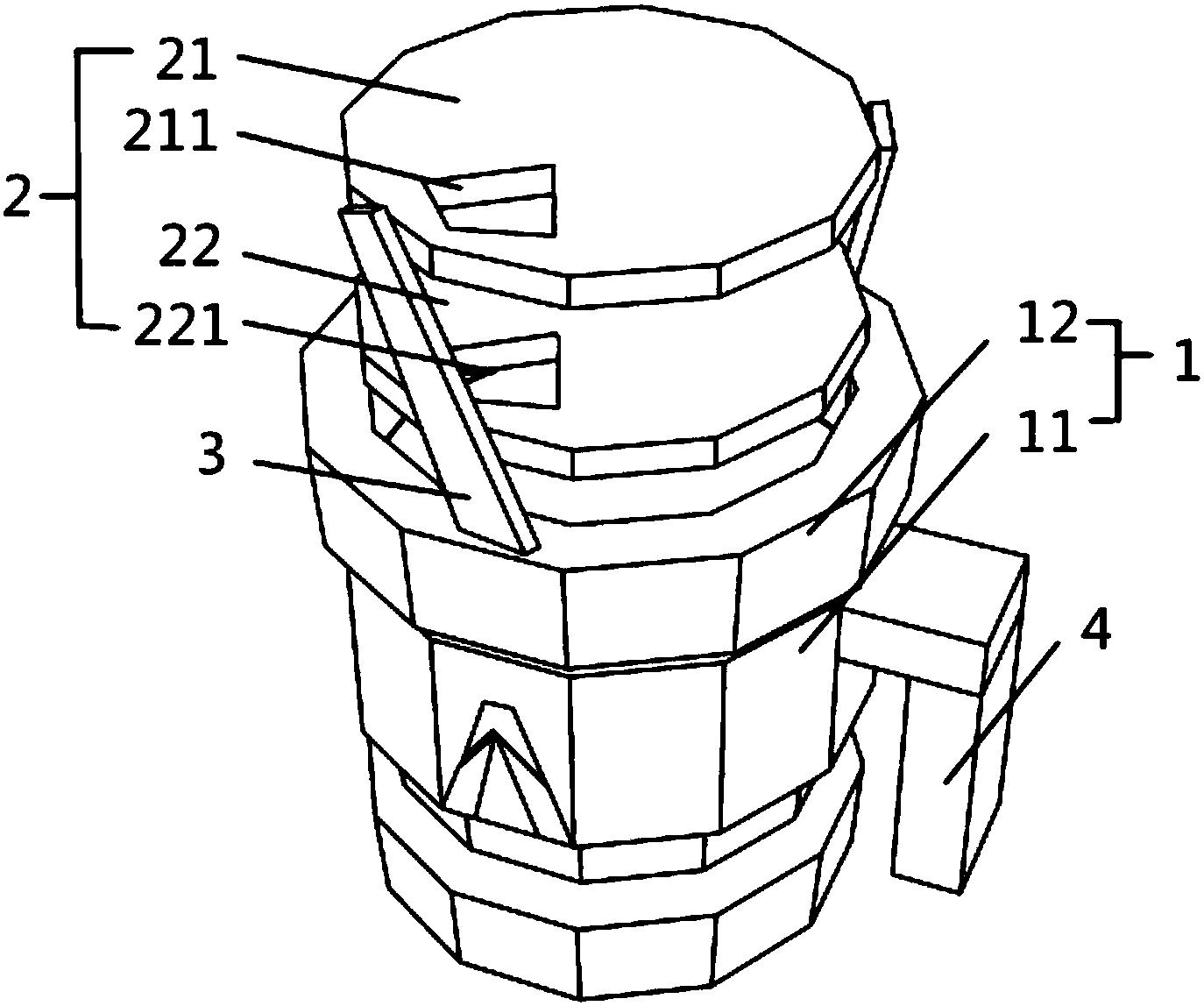
一种微量气自动计量装置
温州理工学院
基于以太网及ZigBee的远程智能控制装置
常州信息职业技术学院
一种自动开口水杯
常州信息职业技术学院
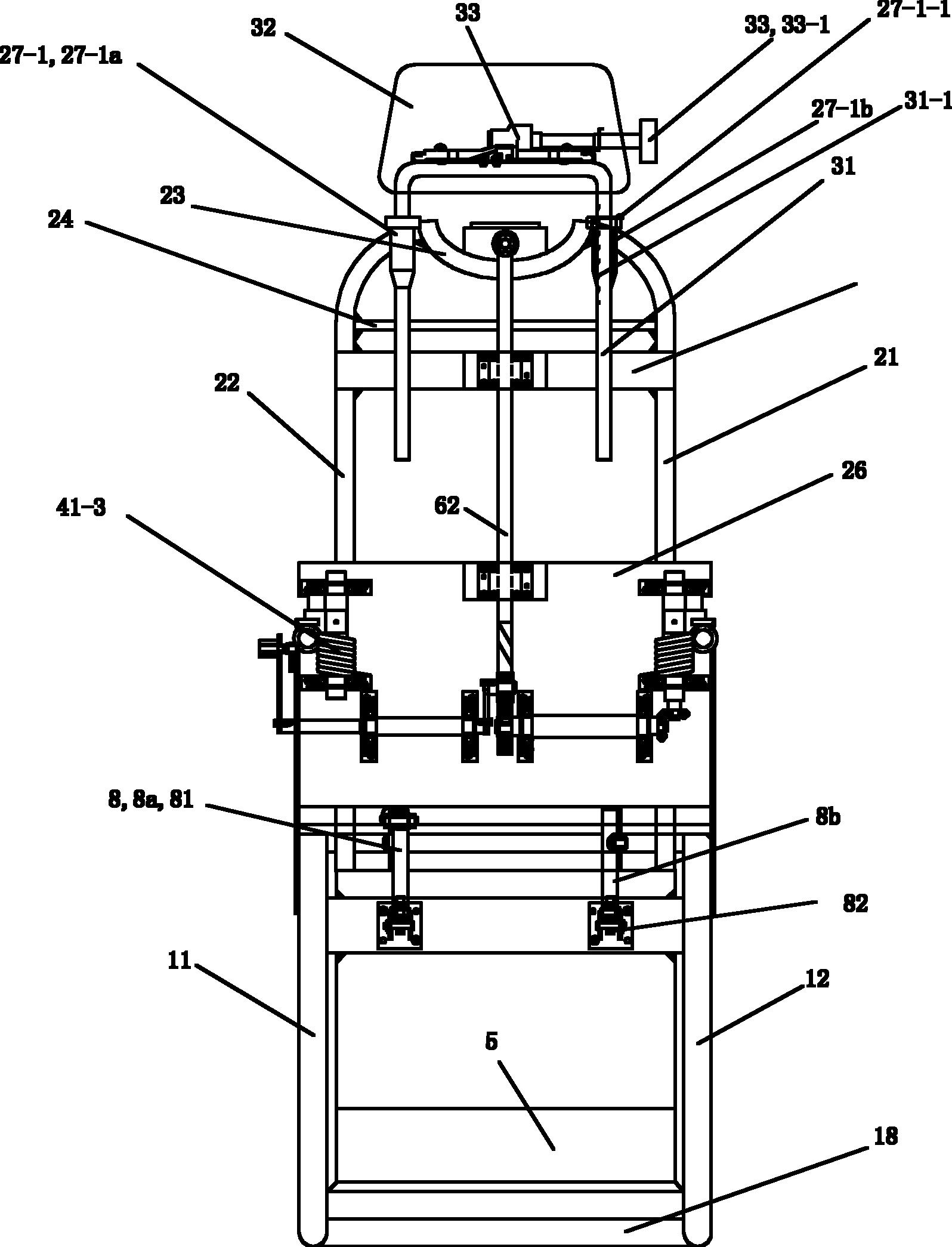
一种外贸物流运输设备
温州理工学院
一种多功能艺术设计用的教学桌
常州信息职业技术学院
一种健身办公椅
常州信息职业技术学院
一种新型燃气烤鱼炉
温州理工学院
一种原发灶转移辅助诊断系统
华中科技大学
一种面向机器人导航应用的物体似物性检测方法
常州信息职业技术学院
一种英语视听教育用英语发音矫正装置及矫正方法
温州理工学院
一种最小方差优化初始聚类中心的模糊C均值聚类方法
常州信息职业技术学院
一种具有导向指挥功能的导盲拉杆箱
温州理工学院
共16030页 转到