一种简易代步工具
河海大学常州校区
一种调度和链接虚拟网络功能的方法及系统
华中科技大学
一种机房空调防噪音进气装置
温州理工学院
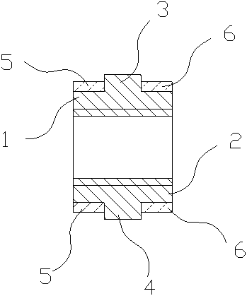
组合式螺母
河海大学常州校区
一种基于任务窃取的任务调度方法及系统
华中科技大学
一种水下机器人的浮材
河海大学常州校区
一种基于多级缓存结构的流式数据实时处理方法及系统
华中科技大学
一种基于数据对象热度的异构内存分配方法及系统
华中科技大学
一种用于行政教学的展示板
温州理工学院
便携式电子移动设备充电装置
河海大学常州校区
一种立体景观设计用的培育装置及其使用方法
温州理工学院
一种腰带型运动水袋
河海大学常州校区
一种LED热管型主动式散热器
河海大学常州校区
一种图形设计与视频编辑用工作台
温州理工学院
一种用于耐磨涂层的喷涂设备
温州理工学院
一种LED智能控制风冷型散热器
河海大学常州校区
一种太阳光追踪装置
河海大学常州校区
一种侧摆式捆扎机高强度导带机构
温州理工学院
一种一体式折叠椅
河海大学常州校区
一种用于长筒靴的支撑架
温州理工学院
共16030页 转到