科创中国
问题分诊室
具身智能与智慧医疗融合创新产业
高性能装备制造产业
智能机器人全产业链产业
中医药产业
人工智能产业
新一代信息技术产业
作物产业
量子科技与先进制造产业
海洋装备产业
煤炭开采及煤化工产业
特殊钢产业
节能环保产业
低空经济产业
光电产业
汽车产业
新能源产业
新材料产业
“以竹代塑”
成果发布厅
新型电力系统
化学领域
现代纺织
低空经济
信息通信
智慧公路
煤炭开采及煤化工
中医药
智能机器人全产业链
海洋装备
新一代信息技术
量子科技与先进制造
人工智能
高性能装备制造
具身智能与智慧医疗融合创新
作物
科创地方
科创北京
科创天津
科创内蒙古
科创辽宁
科创河北
科创湖南
科创宁夏
科创广东
科创江苏
科创广西
科创重庆
科创山东
科创河南
科创福建
科创黑龙江
科创湖北
科创浙江
科创山西
科创资讯
科创头条
科协活动
通知公告
科技政策
技术经理人
科技服务团
资源中心
项目库
问题库
案例库
开源库
学术资源
会议展览
品牌栏目
院士开讲
解码新质生产力
金融服务云课堂
企创云课堂
有问题想咨询
有成果想转化
我的交易
我的会议
我报名的路演会议
我的资讯
我的消息
我的动态
我的需求
我的成果
我的
个人资料编辑
退出登录
登录/注册
科创中国
需求发布
成果发布
科创案例库
揭榜挂帅
技术经理人
会议展览
科创联合体
科技服务团
科创资讯
科技政策
院士开讲
学术资源
城市站点
协作站点
搜索
问题库
项目库
开源库
English
我的交易
我的会议
我报名的路演会议
我的资讯
我的消息
我的动态
我的需求
我的成果
我的
个人资料编辑
退出登录
登录/注册
组织入驻
隐藏工作区
全国
在线展厅
切换展厅
全国
北京市
天津市
河北省
山西省
内蒙古
辽宁省
吉林省
黑龙江省
上海市
江苏省
浙江省
安徽省
福建省
江西省
山东省
河南省
湖北省
湖南省
广东省
广西
海南省
重庆市
四川省
贵州省
云南省
西藏
陕西省
甘肃省
青海省
宁夏
新疆
新疆兵团
路演活动
科技成果
参观
人数
0
0
0
0
0
0
0
点赞
人数
0
0
0
0
0
0
0
技术领域
全部
新兴行业
|
新基建
|
电子信息
|
高端产业
|
生物医药
|
石化与新材料
|
智能机械与光机电一体化
|
节能环保
|
新能源
|
现代农业
|
高端技术服务业
|
农林牧副渔
|
城建规划
|
文化创意
|
矿山工程
|
冶金工程
|
企业管理
|
知识产权
|
智库咨询
|
旅游休闲娱乐
|
企业发展服务
|
电子商务
|
纺织
|
其他
|
更多
小分子游离胍与N-甲基-2-吡咯烷酮协同催化合成对甲氧基肉桂酸酯的方法
常州大学
一种壳聚糖酶突变体及其应用
常州大学
一种果实采摘运输用储存装置
常州大学
一种透明封箱胶带分切机
广州华昇科技咨询有限公司
一种具有pH、氧化还原和近红外光三重响应型双载药体系及其制备方法和应用
常州大学
材料基因工程专用数据库系统
数字化转型专业科技服务团
一种果实恒温控制储存装置
常州大学
一种高硬度Cr-Cu-Fe-Ni-V高熵合金及其制备方法
江苏理工学院
一种多腔道音箱
广州华昇科技咨询有限公司
新型仿生疫苗佐剂
中科院过程工程研究所
基于深度学习的矿山智能监控与灾害预警系统
数字化转型专业科技服务团
一种链珠状Cu2O-Mn3O4/NiO复合材料及其制备方法
江苏理工学院
配电一次设备规模化自组织高效检测关键技术及应用
中国电工技术学会
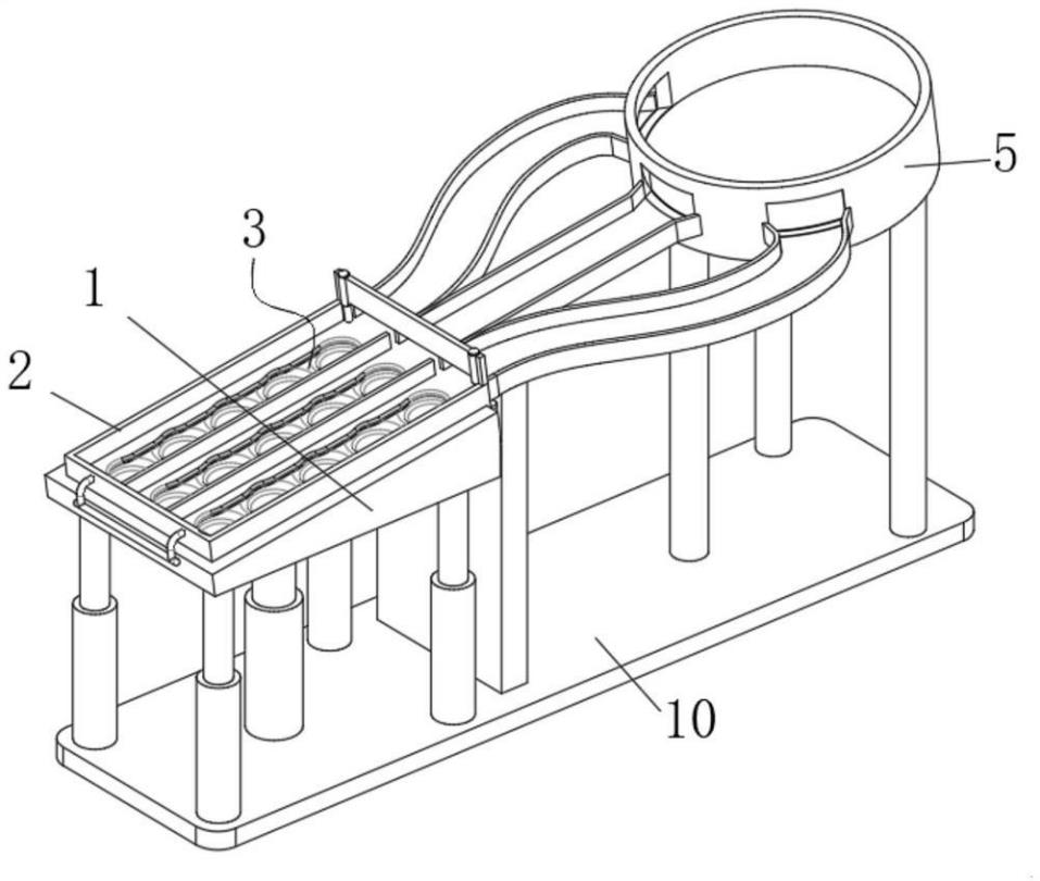
一种果实摆放用自动排列装置
常州大学
一种微流体燃料电池多孔电极几何尺寸的设计方法
江苏理工学院
一种构建碳-氮轴手性吲哚-萘酚联芳基化合物的方法
常州大学
电子设备
常州信息职业技术学院
轴类汽车复合材料模压成形件对基准孔的位置公差测量方法
江苏理工学院
手部康复训练装置及控制系统
江苏理工学院
一种基于颜色识别的果实成熟度检测分离机构
常州大学
首页
上一页
6079
6080
6081
6082
6083
6084
6085
下一页
尾页
共16030页 转到
页