一种带有刻度尺的圆规
河海大学常州校区
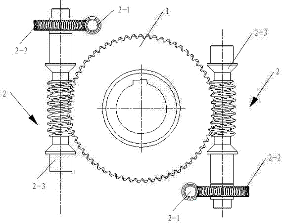
一种泄爆口面积可调节装置
常州大学
耳机绕线器
河海大学常州校区
蜗轮蜗杆传动机构
河海大学常州校区
一种可组合变形的平衡车
河海大学常州校区
一种汽车尾气检测探头的固定装置
河海大学常州校区
一种可变换坐垫位置的自行车车架
河海大学常州校区
一种风琴式可立电脑包
河海大学常州校区
有机绿色食品与消费者互联网对接管理软件
哈尔滨永创计量检测有限公司
EBZ200悬臂式掘进机(智能)
山西石泉煤业有限责任公司
基于大数据的有机绿色食品与消费者消息对接平台
哈尔滨永创计量检测有限公司
有机绿色食品与消费者智能物联网云处理软件
哈尔滨永创计量检测有限公司
有机绿色食品与消费者综合对接平台
哈尔滨永创计量检测有限公司
有机绿色食品与消费者关系对接服务管理系统
哈尔滨永创计量检测有限公司
有机绿色食品与消费者对接监管平台
哈尔滨永创计量检测有限公司
可变分辨率自适应气象预报系统
中科星图维天信(北京)科技有限公司
多功能超轻气凝胶
浙江大学
农林生物质气化发电联产炭、热、肥的技术创新与产业化
南京林业大学
寒区道路病害防治与保障技术
西南石油大学
高性能数控系统关键技术及产业化
华中科技大学
共16030页 转到