科创中国
问题分诊室
具身智能与智慧医疗融合创新产业
高性能装备制造产业
智能机器人全产业链产业
中医药产业
人工智能产业
新一代信息技术产业
作物产业
量子科技与先进制造产业
海洋装备产业
煤炭开采及煤化工产业
特殊钢产业
节能环保产业
低空经济产业
光电产业
汽车产业
新能源产业
新材料产业
“以竹代塑”
成果发布厅
新型电力系统
化学领域
现代纺织
低空经济
信息通信
智慧公路
煤炭开采及煤化工
中医药
智能机器人全产业链
海洋装备
新一代信息技术
量子科技与先进制造
人工智能
高性能装备制造
具身智能与智慧医疗融合创新
作物
科创地方
科创北京
科创天津
科创内蒙古
科创辽宁
科创河北
科创湖南
科创宁夏
科创广东
科创江苏
科创广西
科创重庆
科创山东
科创河南
科创福建
科创黑龙江
科创湖北
科创浙江
科创山西
科创资讯
科创头条
科协活动
通知公告
科技政策
技术经理人
科技服务团
资源中心
项目库
问题库
案例库
开源库
学术资源
会议展览
品牌栏目
院士开讲
解码新质生产力
金融服务云课堂
企创云课堂
有问题想咨询
有成果想转化
我的交易
我的会议
我报名的路演会议
我的资讯
我的消息
我的动态
我的需求
我的成果
我的
个人资料编辑
退出登录
登录/注册
科创中国
需求发布
成果发布
科创案例库
揭榜挂帅
技术经理人
会议展览
科创联合体
科技服务团
科创资讯
科技政策
院士开讲
学术资源
城市站点
协作站点
搜索
问题库
项目库
开源库
English
我的交易
我的会议
我报名的路演会议
我的资讯
我的消息
我的动态
我的需求
我的成果
我的
个人资料编辑
退出登录
登录/注册
组织入驻
隐藏工作区
全国
在线展厅
切换展厅
全国
北京市
天津市
河北省
山西省
内蒙古
辽宁省
吉林省
黑龙江省
上海市
江苏省
浙江省
安徽省
福建省
江西省
山东省
河南省
湖北省
湖南省
广东省
广西
海南省
重庆市
四川省
贵州省
云南省
西藏
陕西省
甘肃省
青海省
宁夏
新疆
新疆兵团
路演活动
科技成果
参观
人数
0
0
0
0
0
0
0
点赞
人数
0
0
0
0
0
0
0
技术领域
全部
新兴行业
|
新基建
|
电子信息
|
高端产业
|
生物医药
|
石化与新材料
|
智能机械与光机电一体化
|
节能环保
|
新能源
|
现代农业
|
高端技术服务业
|
农林牧副渔
|
城建规划
|
文化创意
|
矿山工程
|
冶金工程
|
企业管理
|
知识产权
|
智库咨询
|
旅游休闲娱乐
|
企业发展服务
|
电子商务
|
纺织
|
其他
|
更多
一种壁挂式废旧电池分类回收箱
河海大学常州校区
镁合金制件表面微弧氧化陶瓷层的着色方法
河海大学常州校区
一种复合耐磨缸筒及制备方法
河海大学常州校区
无损型动力电池均衡器
河海大学常州校区
抗心绞痛原料药5-单硝酸异山梨醇酯的
河北省科技成果展示交易中心
生物农药-昆虫杆状病毒(棉铃虫、甜菜夜蛾)杀虫剂,昆虫细胞培养法的大规模生产工艺过程的研究
河北省科技成果展示交易中心
一种复合型黄腐酸钾的制备方法
常州大学
一种有机污染土壤的原位化学氧化修复装置
常州大学
基于PDA的家庭信息采集系统
河海大学常州校区
一种基于特征感知在双模式人脸变换下的人脸正面化方法
常州大学
可再生能源综合路灯供电系统
河海大学常州校区
一种虹膜识别电子锁驱动电路
河海大学常州校区
一种基于人脸重构和Gabor遮挡字典的人脸识别方法
常州大学
一种检测光伏热斑损害的太阳电池漏电流的系统及方法
河海大学常州校区
一种电动车的三维多样化设计方法
河海大学常州校区
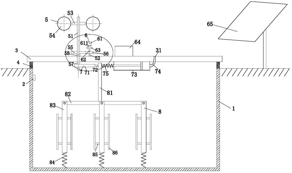
一种环保型高温沼气发酵系统
湖北赤壁集技产业技术研究院有限公司
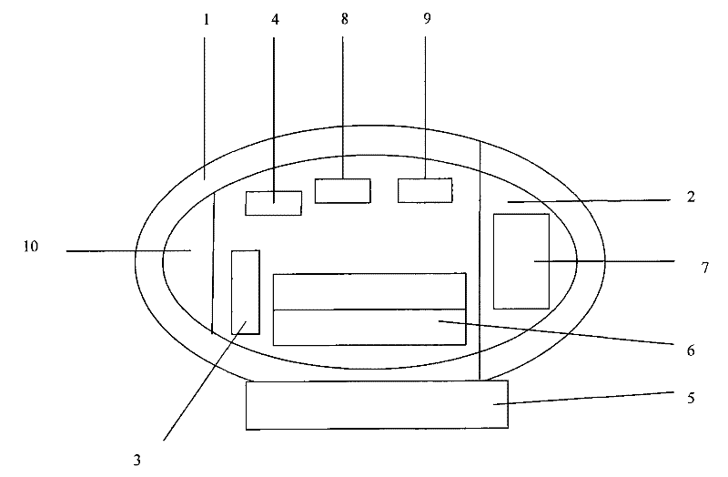
矿用防爆逃生隔离仓
河海大学常州校区
一种双缺陷工艺构建硼氢化钠还原的钼掺杂的R-Mo-NiCo2O4及制备方法和应用
常州大学
一种方位可调的远程定向强声示警装置
河海大学常州校区
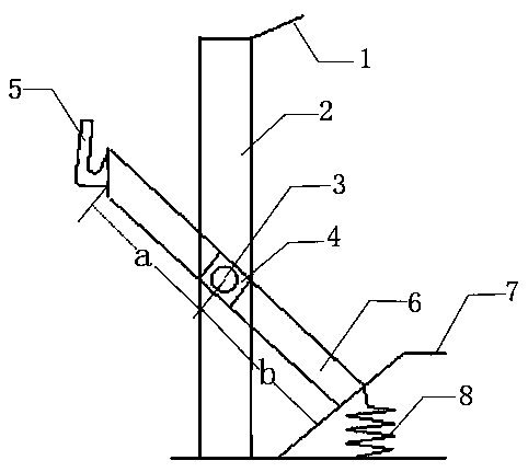
脚踏式快速拔棉花杆装置
河海大学常州校区
首页
上一页
6011
6012
6013
6014
6015
6016
6017
下一页
尾页
共16030页 转到
页