基于图像处理的人体器官分割技术
河北省科技成果展示交易中心
磁脉冲焊接技术及装备
北京工业大学技术转移中心
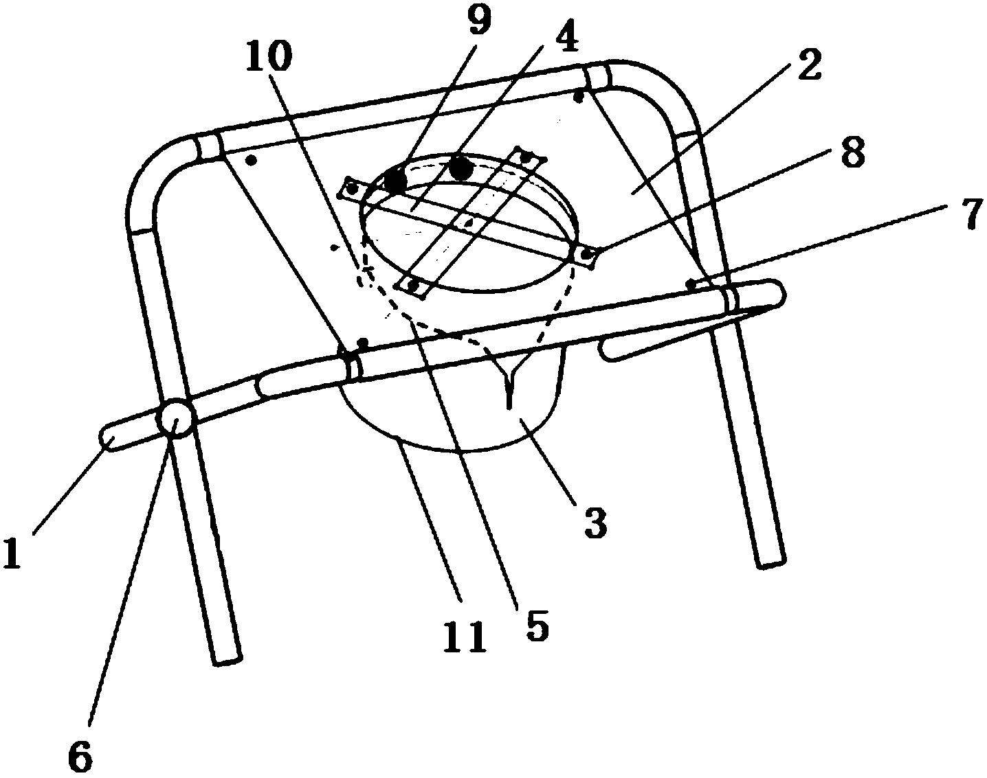
一种带可拆卸坐便袋的折叠凳
河海大学常州校区
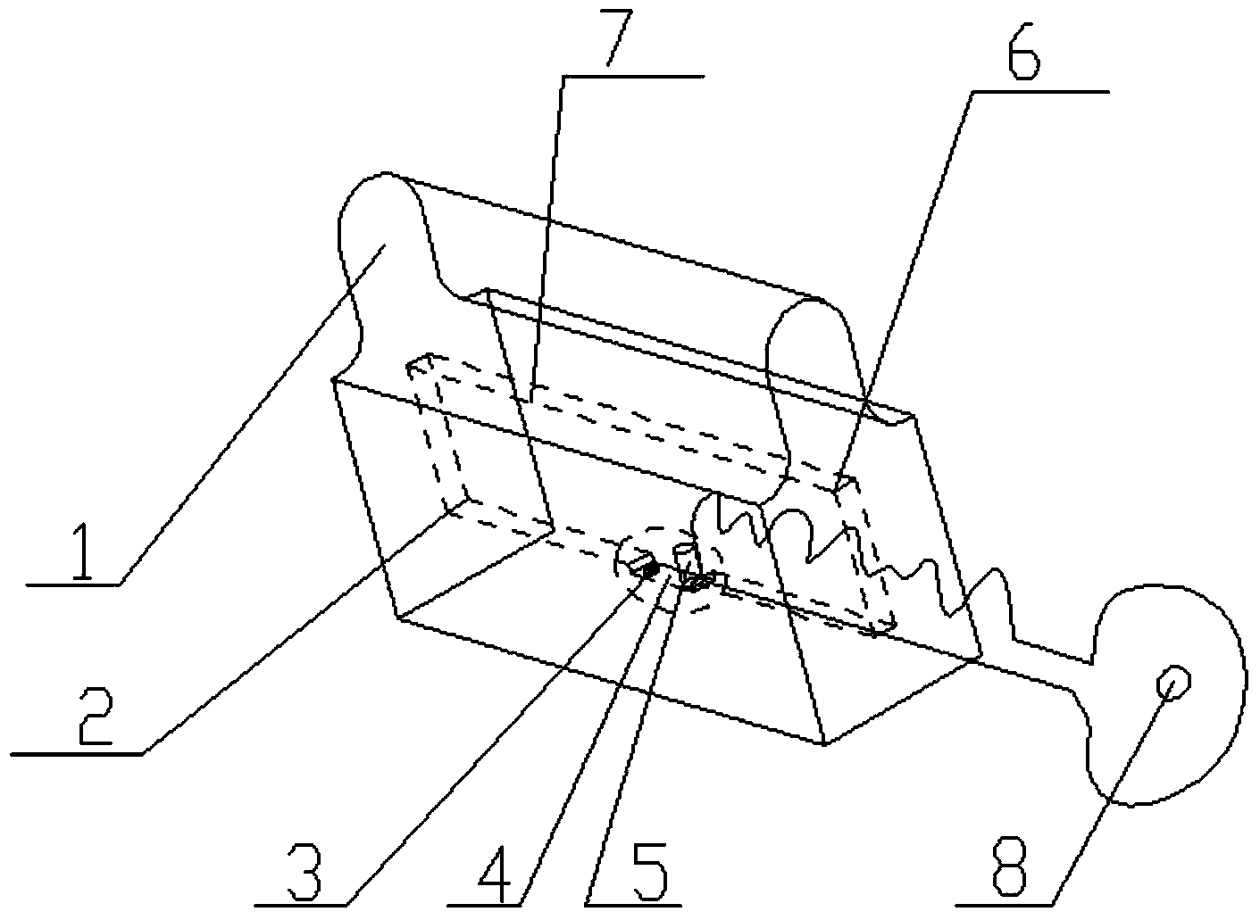
一种中药薰蒸医疗床
河北省科技成果展示交易中心
一种锁控照明装置
河海大学常州校区
天津三源电力信息技术股份有限公司的“三源信息智慧能源服务平台”
天津三源电力信息技术股份有限公司
一种土样制备装置和制备方法
河海大学常州校区
肢体康复器
河北省科技成果展示交易中心
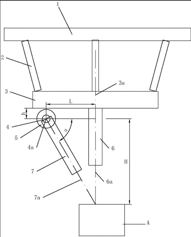
并联机构式坐标测量仪
江苏理工学院
麒麟软件有限公司的“银河麒麟云平台软件 ”
麒麟软件有限公司
变极性等离子弧穿孔立焊工艺及装备
北京工业大学技术转移中心
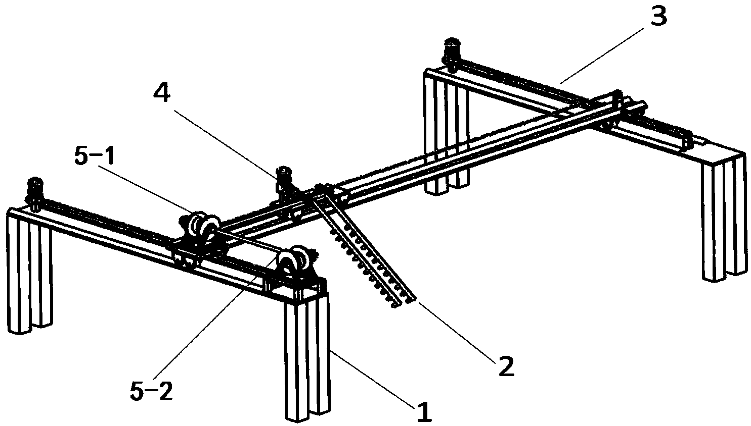
一种固定式光伏电池板组清洗装置
河海大学常州校区
生物医药用新型高效膜分离组件及装置的开发
河北省科技成果展示交易中心
一种新型双面光伏太阳电池组件
河海大学常州校区
海洋微生物抗菌肽制剂
河北省科技成果展示交易中心
一种基于无线传感器网络的远程电能质量监测系统
河海大学常州校区
防治黄瓜枯萎病海洋微生物制剂
河北省科技成果展示交易中心
右旋磷霉素生物催化为左旋磷霉素技术
河北省科技成果展示交易中心
生物发酵废弃物生产饲料和新型肥料
河北省科技成果展示交易中心
快换接头拔管器
河海大学常州校区
共16030页 转到