一种光伏电站移动监测系统
河海大学常州校区
多串口以太网服务器
北京工业大学技术转移中心
布谷智能巡更打卡系统
中科劲点(北京)科技有限公司
一种防滑C型钢构件
山东鲁野钢结构工程有限公司
一种多功能折叠台灯
河海大学常州校区
一种建筑施工用建筑砂浆暂存装置
华北理工大学
一种基于NFC技术的手机智能导游方法与系统
河海大学常州校区
错位多层卡口卡件
河海大学常州校区
Z型串联钙钛矿太阳电池组件及其制备方法
河海大学常州校区
一种智能农田浇灌装置
华北理工大学
一种新型可移动剪板机
山东鲁野钢结构工程有限公司
一种社区用多功能分类垃圾箱
河海大学常州校区
一种多功能折叠椅
河海大学常州校区
一种建筑装饰装修工程用切割设备
山东鲁野钢结构工程有限公司
一种防护栏用快速装拆装置
河海大学常州校区
儿童智能防溺水监控系统
河海大学常州校区
一种便携环保的乒乓球捡球装置
河海大学常州校区
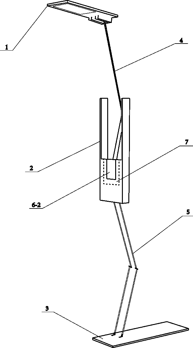
一种多功能折叠落地灯
河海大学常州校区
还原法螺旋藻负载镍水性防腐隐身涂料及其制备方法
江苏理工学院
带权值的平均骨骼模型生成及参数化方法
河海大学常州校区
共16030页 转到