一种真空冷冻干燥风味卤牛肉的加工方法
湖北新美香食品有限公司
一种组合式亲子家具
河海大学常州校区
异型户外智能电动天棚遮阳系统
河北省科技成果展示交易中心
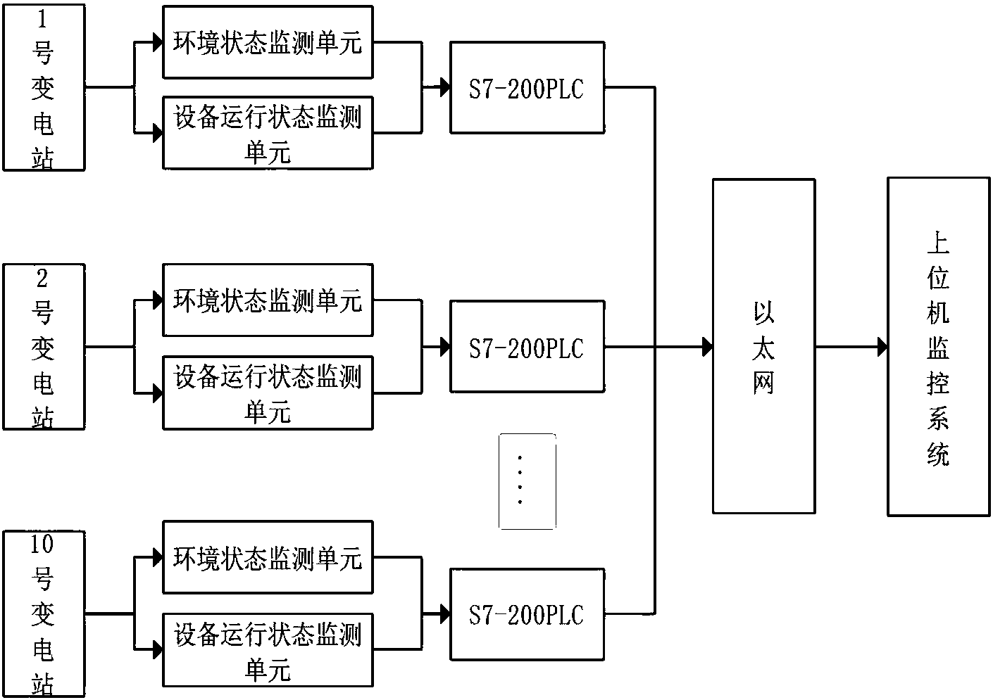
一种预装式变电站的远程监控系统
河海大学常州校区
一种真空冷冻干燥果蔬小米粥的加工方法
湖北新美香食品有限公司
一种多功能设计专业用课桌
河海大学常州校区
拔插直连式电涌保护器
河北省科技成果展示交易中心
EP无源继电保护系统
河北省科技成果展示交易中心
一种CRS阻变存储器的混合可重配方法
华中科技大学
太阳能独立供电照明灯
河北省科技成果展示交易中心
一种烟熏腊猪肉的加工方法
湖北新美香食品有限公司
激流喷射式电脑自动洗菜机
河北省科技成果展示交易中心
白云鄂博稀土矿高效清洁选冶工艺技术开发
包头华美稀土高科有限公司
一种多功能带灯床上小书桌
河海大学常州校区
钛白废酸回用节能提浓新技术
河北省科技成果展示交易中心
河北省核安保技术创新中心-实物保护系统设计薄弱性分析与评价系统
中核第四研究设计工程有限公司
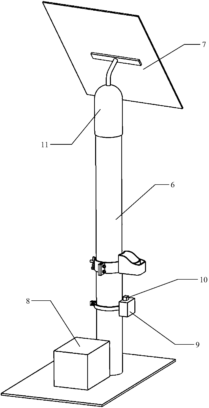
一种用于户外健身场所的可供电置物立柱
河海大学常州校区
40.5KV屏蔽筒内置式真空开关管的研制与应用
河北省科技成果展示交易中心
一种耐磨堆焊自保护药芯焊丝
河海大学常州校区
高位自卸集装箱
河海大学常州校区
共16030页 转到