用于中华绒螯蟹易患颤抖病与否鉴定的微卫星标记引物及鉴定试剂盒与应用
中国水产科学研究院淡水渔业研究中心
一种小麦秸秆饲料筛选粉碎搅拌机
河北农业大学
一种臭氧微纳米气泡发生装置
中国水产科学研究院淡水渔业研究中心
一种小麦收割旋耕玉米播种机
河北农业大学
鉴定奥利亚罗非鱼、尼罗罗非鱼及其杂交子代的方法、试剂盒及应用
中国水产科学研究院淡水渔业研究中心
一种牵引式变量喷药机
河北农业大学
肝胆系统相关药源性疾病评价方法研究
中国毒理学会
心血管系统相关药源性疾病评价方法研究
中国毒理学会
一种漂浮式小型鱼卵孵化筐
中国水产科学研究院淡水渔业研究中心
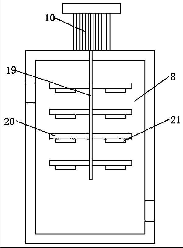
一种螃蟹卡位固定装置
中国水产科学研究院淡水渔业研究中心
多源电子诊疗数据汇聚分析技术指导原则及方 法验证硏究
中国毒理学会
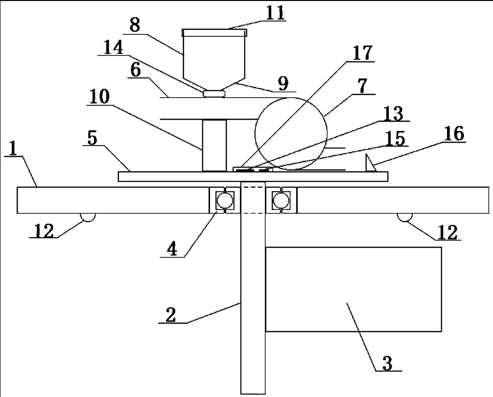
一种养殖水域区域饵料投放装置
中国水产科学研究院淡水渔业研究中心
一种加州鲈鱼养殖中保肝健肠的复合制剂及其制备方法
中国水产科学研究院淡水渔业研究中心
一种用以分流旋涡水流冲力的沉网装置
中国水产科学研究院淡水渔业研究中心
一种处理草鱼养殖废水中有机物的方法
中国水产科学研究院淡水渔业研究中心
一种环保无污染的草鱼饲料配方及生产工艺
中国水产科学研究院淡水渔业研究中心
药物严重不良反应/事件机制探索及转化应用研究
中国毒理学会
药物吸入制剂刺激性和过敏性试验技术指导原则
中国毒理学会
环氧乙烷地表水环境生物安全阈值技术指南
中国毒理学会
基于代谢组学的中药何首乌肝损伤易感个体识别
中国毒理学会
共16030页 转到